LEMON Manuals: Even more car manuals for everyone
Home >> Chevrolet >> 2011 >> Volt >> Repair and Diagnosis (Single Page) >> Quick Lookups >> Wiring Diagrams >> Wiring Systems And Power Management - Component Connector End Views - E41 Through K43 >> Component Connector End Views >> F103 Power Inverter Module Assembly Cable Cover

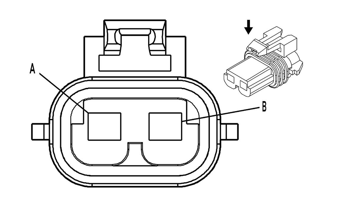
F103 Power Inverter Module Assembly Cable Cover

GM684799Courtesy of GENERAL MOTORS CORP.
Connector Part Information 
  • Harness Type: Engine
  • OEM Connector: 12077900
  • Service Connector: 12116247
  • Description: 2-Way F Metri-Pack 280 Series, Sealed (BK)
Terminal Part Information 
  • Terminated Lead: Service by Connector Assembly - 12116247
  • Release Tool: J-38125-11A
  • Diagnostic Test Probe: J-35616-4A (PU)
  • Terminal/Tray: 12077411/2
  • Core/Insulation Crimp: 2/5
F103 Power Inverter Module Assembly Cable Cover

Pin Size Color Circuit Function Option
A 0.5 VT 5087 High Voltage Interlock Loop Signal (1) -
B 0.5 VT 5087 High Voltage Interlock Loop Signal (1) -