LEMON Manuals: Even more car manuals for everyone
Home >> Chevrolet >> 2011 >> Caprice >> Repair and Diagnosis (Single Page) >> Quick Lookups >> Wiring Diagrams >> Wiring Systems And Power Management - Component Connector End Views - K20 Through X85 >> Component Connector End Views >> K90 Window Control Module

K90 Window Control Module

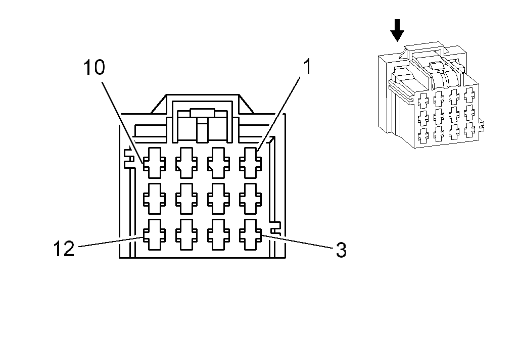
Fig 1: K90 Window Control Module Connector End View
GM1989613Courtesy of GENERAL MOTORS CORP.
K90 Window Control Module

Pin Size Color Circuit Function Option
1 2 D-BU/WH 666 Power Window Motor Right Front Up Control -
2 2 BN/OG 165 Power Window Motor Left Front Down Control -
3 0.5 L-BU 166 Power Window Master Switch Right Front Up Signal -
4 - - - Not Used -
5 2 BK 1350 Ground -
6 0.5 BN 1300 Power Window Master Switch Left Front Up Signal -
7 - - - Not Used -
8 2 D-GN 1001 RAP Supply Voltage -
9 0.5 D-GN/BK 167 Power Window Master Switch Right Front Down Signal -
10 2 BN 667 Power Window Motor Right Front Down Control -
11 2 D-BU 164 Power Window Motor Left Front Up Control -
12 0.5 GY/D-BU 1136 Power Window Master Switch Left Front Down Control Signal -
Connector Part Information
  • Harness Type: Body
  • OEM Connector: 7283-4417-60
  • Service Connector: 13577343
  • Description: 12-Way F (GN)
Terminal Part Information
  • Terminal/Tray: 7116-4156-02
  • Core/Insulation Crimp: See Terminal Repair Kit
  • Release Tool/Test Probe: See Terminal Repair Kit