LEMON Manuals: Even more car manuals for everyone
Home >> Chevrolet >> 2011 >> Caprice >> Repair and Diagnosis (Single Page) >> Quick Lookups >> Wiring Diagrams >> Wiring Systems And Power Management - Component Connector End Views - K20 Through X85 >> Component Connector End Views >> K89 Immobilizer Control Module

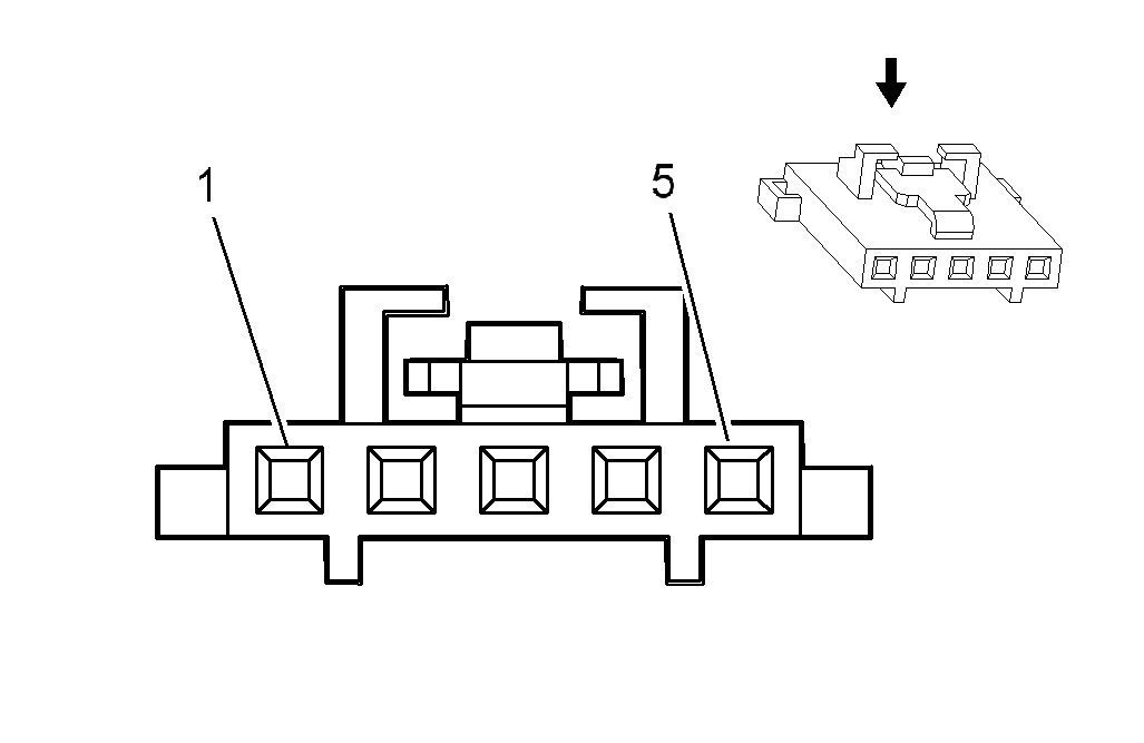
K89 Immobilizer Control Module

Fig 1: K89 Immobilizer Control Module Connector End View
GM1989590Courtesy of GENERAL MOTORS CORP.
K89 Immobilizer Control Module

Pin Size Color Circuit Function Option
1 0.3 OG/BK 1040 Battery Positive Voltage -
2 0.3 BN 4 Ignition 1 Voltage -
3 0.3 BK 850 Ground -
4 - - - Not Used -
5 0.35 D-GN 5060 Low Speed GMLAN Serial Data -
Connector Part Information
  • Harness Type: Instrument Panel
  • OEM Connector: 7183-2179-30
  • Service Connector: 88988353
  • Description: 5-Way F (BK)
Terminal Part Information
  • Terminal/Tray: 16-02-1110/20
  • Core/Insulation Crimp: H/H
  • Release Tool/Test Probe: J-38125-213/J-35616-64B (L-BU)