LEMON Manuals: Even more car manuals for everyone
Home >> Chevrolet >> 2011 >> Caprice >> Repair and Diagnosis (Single Page) >> Quick Lookups >> Wiring Diagrams >> Wiring Systems And Power Management - Component Connector End Views - K20 Through X85 >> Component Connector End Views >> K27 Fuel Pump Control Module

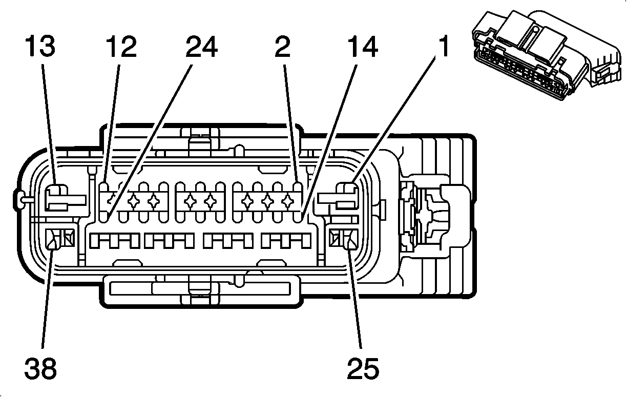
K27 Fuel Pump Control Module

Fig 1: K27 Fuel Pump Control Module Connector End View
GM1986146Courtesy of GENERAL MOTORS CORP.
K27 Fuel Pump Control Module

Pin Size Color Circuit Function Option
1 3 OG/D-GN 2840 Battery Positive Voltage -
2-4 - - - Not Used -
5 0.5 BN/BK 2500 High Speed Serial Data Bus (+) -
6 0.5 BN/BK 2500 High Speed Serial Data Bus (+) -
7 - - - Not Used -
8 0.5 L-BU 5986 Serial Data Communication Enable -
9 - - - Not Used -
10 0.3 PU 7446 Fuel Pressure Sensor Signal -
11-12 - - - Not Used -
13 2 GY 120 Fuel Pump Control -
14-16 - - - Not Used -
17 0.5 BN 2501 High Speed Serial Data Bus (-) -
18 0.5 BN 2501 High Speed Serial Data Bus (-) -
19 - - - Not Used -
20 0.3 D-GN/WH 465 Fuel Pump Relay Control (Primary) -
21 0.5 PK 439 Ignition 1 Voltage -
22 0.3 BN 7445 5-Volt Reference -
23 0.3 GY 7447 Low Reference -
24 0.5 BK 7444 Drain Wire -
25 2 BK 1850 Ground -
 
26-37 - - - Not Used -
38 2 PK 1580 Low Reference -
Connector Part Information
  • Harness Type: Body Rear
  • OEM Connector: 15491306
  • Service Connector: 19168025
  • Description: 38-Way F (BK)
Terminal Part Information
  • Pins: 1, 13, 25, 38
  • Terminated Lead: 13575305
  • Release Tool: J-38125-553
  • Diagnostic Test Probe: J-35616-4A (PU)
  • Terminal/Tray: Not Available
  • Core/Insulation Crimp: Not Available
  • Pins: 5-6, 8, 10, 13, 17-18, 20-24
  • Terminated Lead: 13575263
  • Release Tool: J-38125-215A
  • Diagnostic Test Probe: J-35616-64B (L-BU)
  • Terminal/Tray: Not Available
  • Core/Insulation Crimp: Not Available