LEMON Manuals: Even more car manuals for everyone
Home >> Chevrolet >> 2011 >> Avalanche 5.3 3 >> Repair and Diagnosis >> Quick Lookups >> Wiring Diagrams >> Wiring Systems And Power Management - Component Connector End Views - Electronic Steering Control Module X2 Through Memory Seat Module >> Component Connector End Views >> Liftgate Window Release Switch (E52)

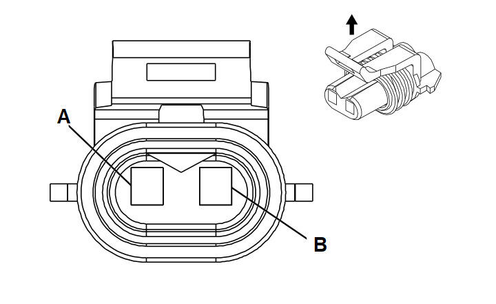
Liftgate Window Release Switch (E52)

Fig 1: Liftgate Window Release Switch (E52) Connector End View
GM684795Courtesy of GENERAL MOTORS CORP.
Liftgate Window Release Switch (E52)

Pin Wire Circuit Function
A 0.35 PK/BK 6190 Liftglass/Trunk Exterior Release Signal
B 0.35 BK 1450 Ground
Connector Part Information
  • Harness Type: License Lamp
  • OEM Connector: 12052643
  • Service Connector: 12101858
  • Description: 2-Way F Metri-Pack 150 Series Sealed (RD)
Terminal Part Information
  • Terminated Lead: 13575419
  • Release Tool: J-38125-12A
  • Diagnostic Test Probe: J-35616-14 (GN)
  • Terminal/Tray: 12048074/2
  • Core/Insulation Crimp: E/1