LEMON Manuals: Even more car manuals for everyone
Home >> Chevrolet >> 2011 >> Avalanche 5.3 3 >> Repair and Diagnosis >> Quick Lookups >> Wiring Diagrams >> Wiring Systems And Power Management - Component Connector End Views - Electronic Steering Control Module X2 Through Memory Seat Module >> Component Connector End Views >> Liftgate Object Sensor - Left (E61)

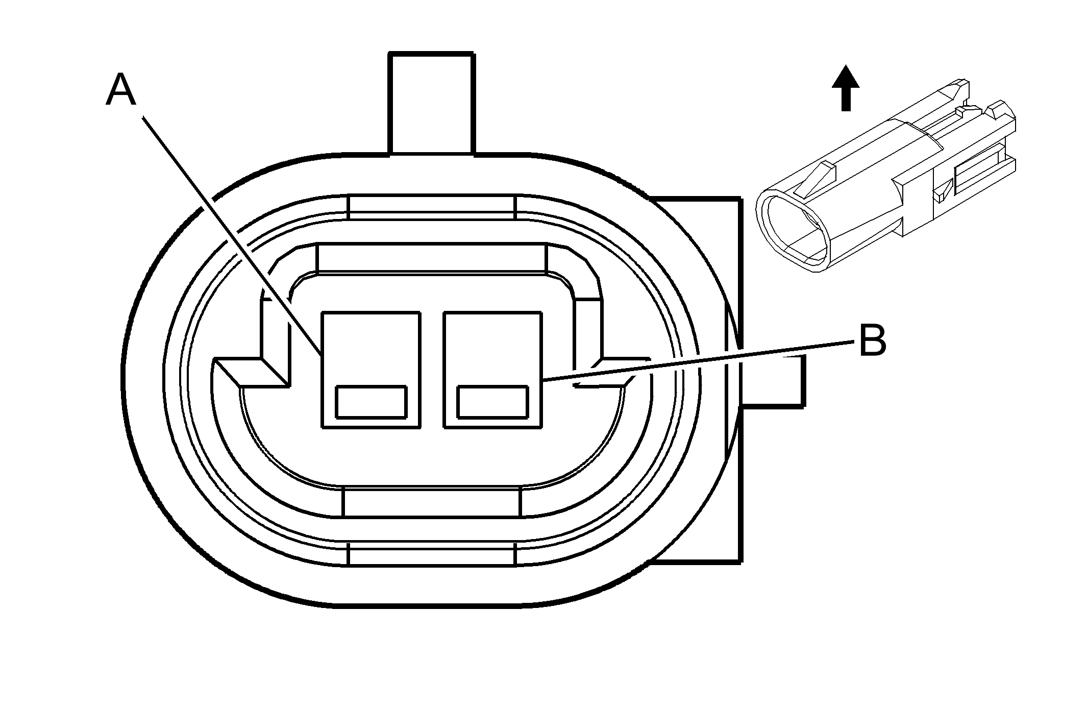
Liftgate Object Sensor - Left (E61)

Fig 1: Liftgate Object Sensor - Left (E61) Connector End View
GM697014Courtesy of GENERAL MOTORS CORP.
Liftgate Object Sensor- Left (E61)

Pin Wire Circuit Function
A 0.35 WH/BK 6126 Liftgate Object Sensor 2 Signal
B 0.35 PK/BK 5802 Liftgate Object Sensor Signal
Connector Part Information
  • Harness Type: Liftgate
  • OEM Connector: 15355466
  • Service Connector: 89046633
  • Description: 2-Way M GT 150 Series Sealed (BK)
Terminal Part Information
  • Terminated Lead: Service by Harness- See Part Catalog
  • Release Tool: J-38125-553
  • Diagnostic Test Probe: J-35616-3 (GY)
  • Terminal/Tray: 15326269/19
  • Core/Insulation Crimp: E/4