LEMON Manuals: Even more car manuals for everyone
Home >> Chevrolet >> 2011 >> Avalanche 5.3 3 >> Repair and Diagnosis >> Quick Lookups >> Wiring Diagrams >> Wiring Systems And Power Management - Component Connector End Views - Electronic Steering Control Module X2 Through Memory Seat Module >> Component Connector End Views >> Inflatable Restraint Front End Sensor - Right

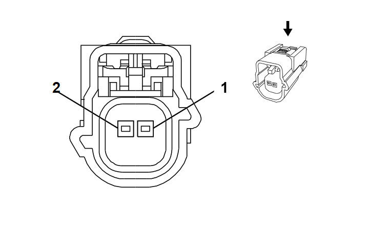
Inflatable Restraint Front End Sensor - Right

Fig 1: Inflatable Restraint Front End Sensor - Right Connector End View
GM2179777Courtesy of GENERAL MOTORS CORP.
Inflatable Restraint Front End Sensor- Right

Pin Wire Circuit Function
1 0.5 D-GN 1409 Discriminating Sensor- Right- Signal
2 0.5 GY 5600 Low Reference
Connector Part Information
  • Harness Type: Forward Lamp
  • OEM Connector: 13593078
  • Service Connector: 13577629
  • Description: 2-Way F Kaizen 0.64 Series, Sealed (L-GY)
Terminal Part Information
  • Terminated Lead: Service by Connector Assembly- 13577629
  • Release Tool: Not Available
  • Diagnostic Test Probe: J-35616-64B (L-BU)
  • Terminal/Tray: Not Available
  • Core/Insulation Crimp: Not Available