LEMON Manuals: Even more car manuals for everyone
Home >> Chevrolet >> 2011 >> Avalanche 5.3 3 >> Repair and Diagnosis >> Quick Lookups >> Wiring Diagrams >> Wiring Systems And Power Management - Component Connector End Views - Electronic Steering Control Module X2 Through Memory Seat Module >> Component Connector End Views >> Heated Seat Control Module - Rear X2 (KA6)

Heated Seat Control Module - Rear X2 (KA6)

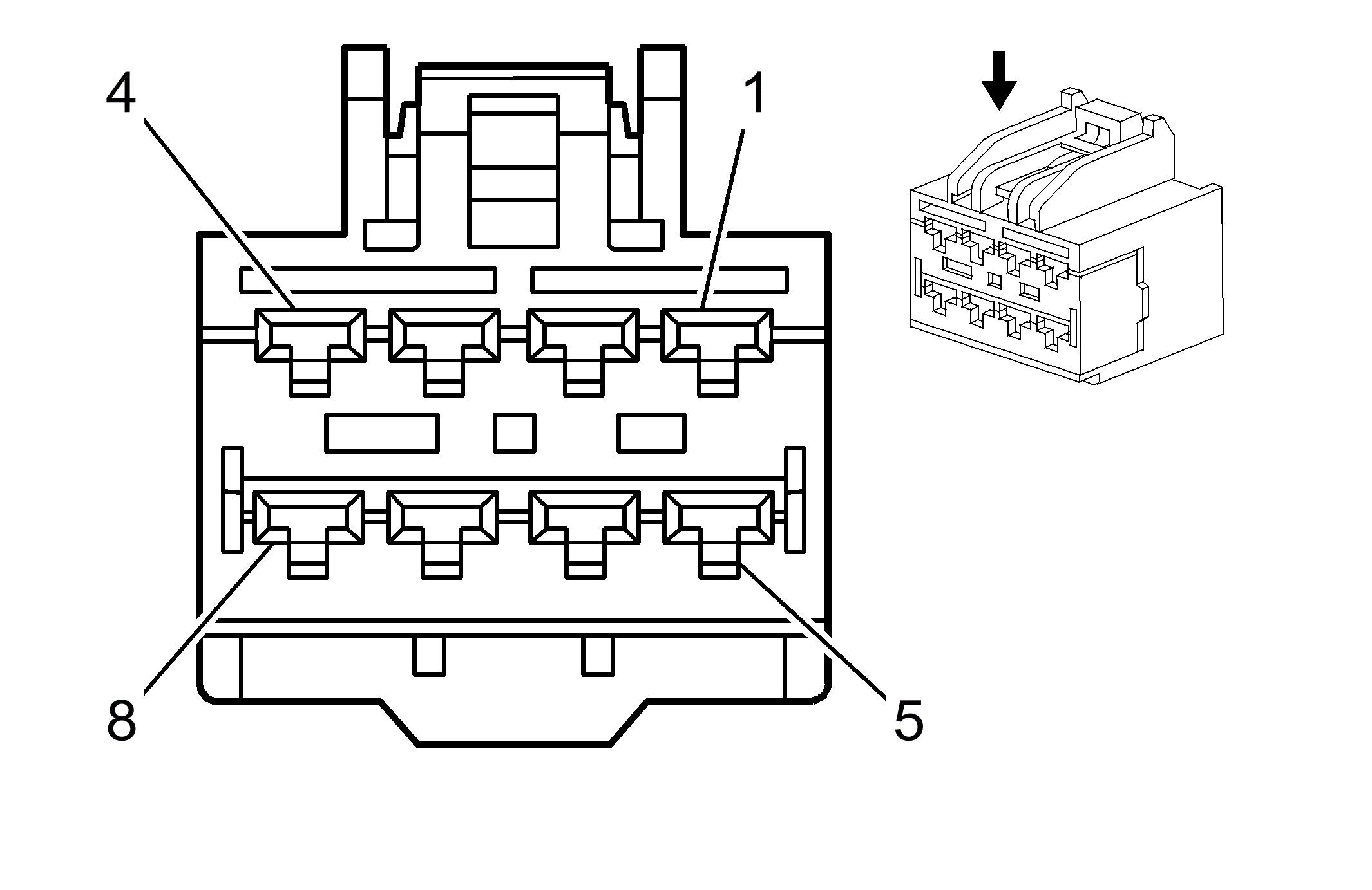
Fig 1: Heated Seat Control Module - Rear X2 (KA6) Connector End View
GM1664463Courtesy of GENERAL MOTORS CORP.
Heated Seat Control Module - Rear X2 (KA6)

Pin Wire Circuit Function
1 0.8 RD/WH 4840 Battery Positive Voltage
2 0.8 BK 1150 Ground
3 - - Not Used
4 0.8 BK 1150 Ground
5 - - Not Used
6 0.35 D-BU 2298 Low Reference
7 - - Not Used
8 0.35 WH/BK 2301 Low Reference
Connector Part Information
  • Harness Type: Left Rear Seat
  • OEM Connector: 6098-4713
  • Service Connector: 88988652
  • Description: 8-Way F (BK)
Terminal Part Information
  • Terminal/Tray: Service by Harness - See Part Catalog
  • Core/Insulation Crimp: Not Available
  • Release Tool/Test Probe: Not Available