Camshaft Actuator System Description: Notes
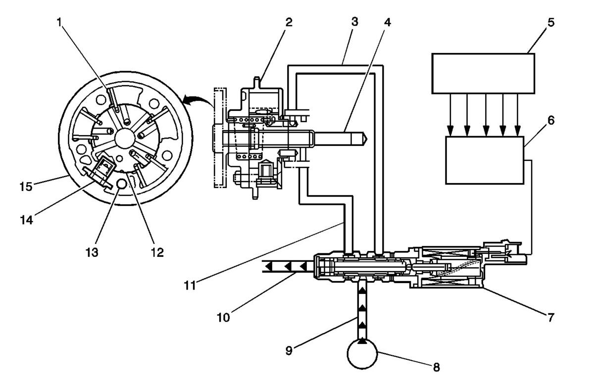
| Callout | Component Name |
|---|---|
| 1 | Camshaft Actuator Vane |
| 2 | Timing Chain Sprocket |
| 3 | Engine Oil Pressure-For retarding the camshaft |
| 4 | Camshaft |
| 5 | Input Signals from Engine Sensors |
| 6 | Engine Control Module (ECM) |
| 7 | Camshaft Actuator Solenoid |
| 8 | Engine Oil Pump |
| 9 | Engine Oil Pressure Supply |
| 10 | Engine Oil Drain |
| 11 | Engine Oil Pressure-For advancing the camshaft |
| 12 | Camshaft Actuator Rotor |
| 13 | Camshaft Position Sensor Reluctor |
| 14 | Camshaft Actuator Lock Pin |
| 15 | Camshaft Actuator Housing |
The camshaft actuator system enables the engine control module (ECM) to change camshaft timing of all 4 camshafts while the engine is operating. The CMP actuator assembly (15) varies the camshaft position in response to directional changes in oil pressure. The CMP actuator solenoid valve controls the oil pressure that is applied to advance or retard a camshaft. Modifying camshaft timing under changing engine demand provides better balance between the following performance concerns:
- Engine power output
- Fuel economy
- Lower tailpipe emissions
The CMP actuator solenoid valve (7) is controlled by the ECM. The crankshaft position (CKP) sensor and the CMP sensors are used to monitor changes in camshaft positions. The ECM uses the following information in order to calculate the desired camshaft positions:
- The engine coolant temperature (ECT) sensor
- The calculated engine oil temperature (EOT)
- The mass air flow (MAF) sensor
- The throttle position (TP) sensor
- The vehicle speed sensor (VSS)
- The volumetric efficiency