LEMON Manuals: Even more car manuals for everyone
Home >> Chevrolet >> 2009 >> Traverse LS, AWD >> Repair and Diagnosis (Single Page) >> Quick Lookups >> Wiring Diagrams >> Wiring Systems And Power Management - Component & Splice Pack Connector End Views >> Component Connector End Views >> Output Speed Sensor (OSS)

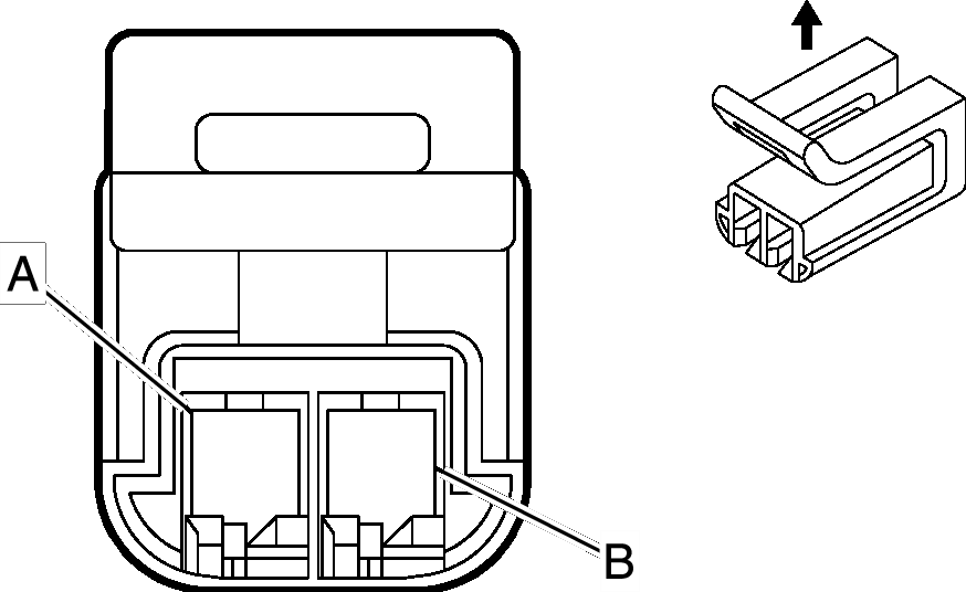
Output Speed Sensor (OSS)

Fig 1: Output Speed Sensor (OSS) Connector End View
GM1910666Courtesy of GENERAL MOTORS CORP.
Output Speed Sensor (OSS)

Pin Wire Circuit Function
A 0.5 WH - OSS High Signal
B 0.5 BK - OSS Low Signal
Connector Part Information 
  • OEM: 15473844
  • Service: Non-Serviceable
  • Description: 2-Way F M/P 150.2 Series P2S (L-GN)
Terminal Part Information 
  • Terminal/Tray: Non-Serviceable
  • Core/Insulation Crimp: Non-Serviceable
  • Release Tool/Test Probe: Non-Serviceable