LEMON Manuals: Even more car manuals for everyone
Home >> Chevrolet >> 2009 >> Traverse LS, AWD >> Repair and Diagnosis (Single Page) >> Quick Lookups >> Wiring Diagrams >> Wiring Systems And Power Management - Component & Splice Pack Connector End Views >> Component Connector End Views >> Liftgate Motor Assembly X2 (TB5)

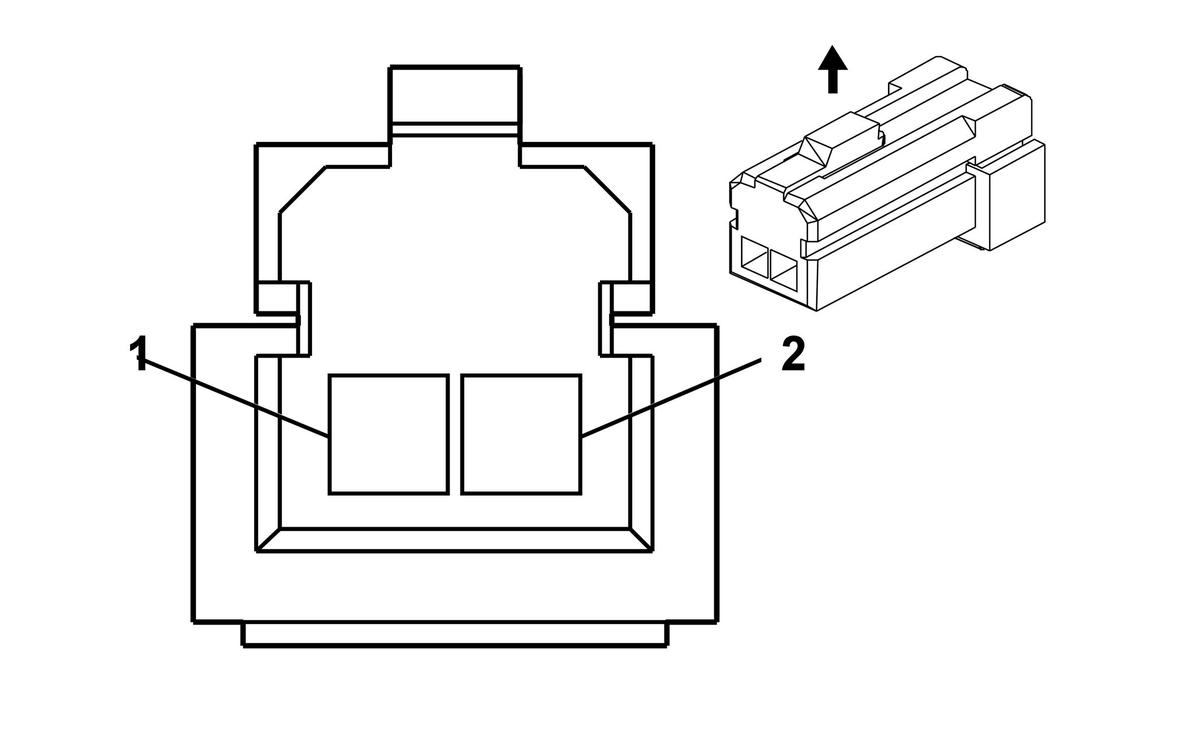
Liftgate Motor Assembly X2 (TB5)

Fig 1: Liftgate Motor Assembly X2 (TB5) Connector End View
GM821858Courtesy of GENERAL MOTORS CORP.
Liftgate Motor Assembly X2 (TB5)

Pin Wire Circuit Function
1 0.35 OG 5804 Low Reference
2 0.35 D-BU/WH 5796 Liftgate Full Open Switch Signal
Connector Part Information 
  • OEM: 15316639
  • Service: 15306434
  • Description: 2-Way F 040 Multilock Series (BK)
Terminal Part Information 
  • Terminal/Tray: See Terminal Repair Kit
  • Crimp: See Terminal Repair Kit
  • Release Tool/Test Probe: See Terminal Repair Kit