LEMON Manuals: Even more car manuals for everyone
Home >> Chevrolet >> 2009 >> Traverse LS, AWD >> Repair and Diagnosis (Single Page) >> Quick Lookups >> Wiring Diagrams >> Wiring Systems And Power Management - Component & Splice Pack Connector End Views >> Component Connector End Views >> Electronic Compass Module (U80)

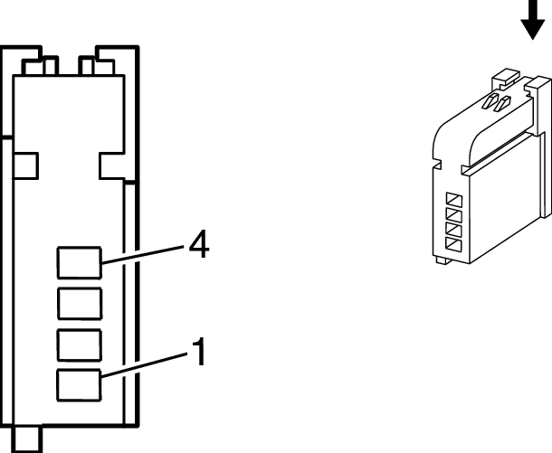
Electronic Compass Module (U80)

Fig 1: Electronic Compass Module (U80) Connector End View
GM1865635Courtesy of GENERAL MOTORS CORP.
Electronic Compass Module (U80)

Pin Wire Circuit Function
1 0.35 OG 300 Ignition 3 Voltage
2 0.35 BK 850 Ground
3 0.35 D-GN 6135 Linear Interconnect Network Bus
4 - - Not Used
Connector Part Information 
  • OEM: 88988900
  • Service: See Catalog
  • Description: 4-Way F AIT2PB-04A-1 AKAIT II Series (BK)
Terminal Part Information 
  • Terminal/Tray: 7116-4618-02/14
  • Core/Insulation Crimp: P/P
  • Release Tool/Test Probe: J-38125-215/J-35616-64B (L-BU)