LEMON Manuals: Even more car manuals for everyone
Home >> Chevrolet >> 2009 >> Traverse LS, AWD >> Repair and Diagnosis (Single Page) >> Quick Lookups >> Wiring Diagrams >> Wiring Systems And Power Management - Component & Splice Pack Connector End Views >> Component Connector End Views >> Body Control Module (BCM) X3

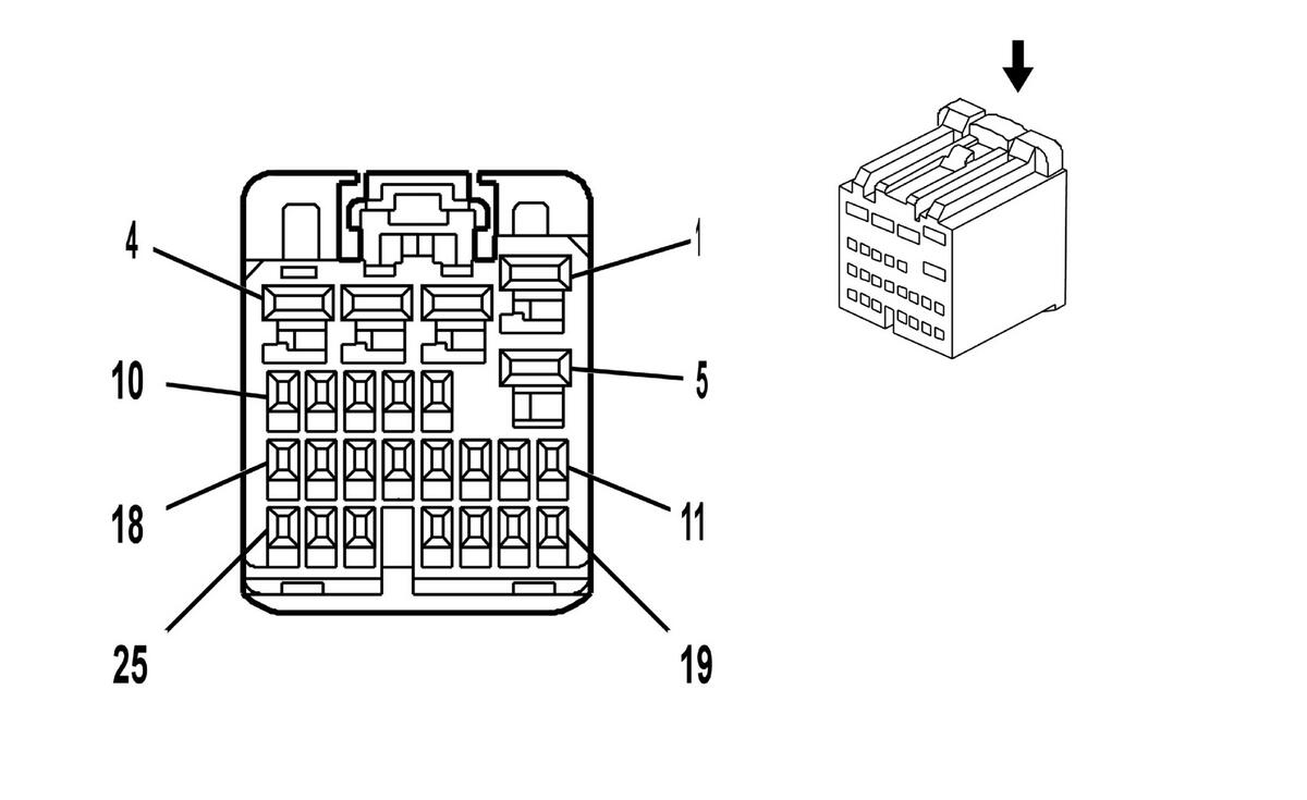
Body Control Module (BCM) X3

Fig 1: Body Control Module (BCM) X3 Connector End View
GM1664498Courtesy of GENERAL MOTORS CORP.
Body Control Module (BCM) X3

Pin Wire Circuit Function
1 0.8 BK/WH 1551 Ground
2 0.8 RD/WH 1640 Battery Positive Voltage
3 0.8 RD/WH 4540 Battery Positive Voltage
4 - - Not Used
5 0.8 BK/WH 1551 Ground
6-7 - - Not Used
8 0.35 TN/BK 2500 High Speed GMLAN Serial Data Bus+
9 0.35 TN 2501 High Speed GMLAN Serial Data Bus-
10 0.35 D-GN 5060 Low Speed GMLAN Serial Data
11 0.35 D-GN 44 Instrument Panel Lamps Dimmer Switch Signal
12 0.35 OG/WH 812 12-Volt Reference
13 0.35 L-GN 526 Stop Lamp Switch Signal
14 0.35 TN 552 Low Reference
15 0.35 GY 598 5-Volt Reference
16 0.35 TN/BK 2500 High Speed GMLAN Serial Data Bus+
17 0.35 TN 2501 High Speed GMLAN Serial Data Bus-
18 0.35 PU/WH 1382 LED Dimming Signal
19 0.35 L-BU 5986 Communication Enable
20 - - Not Used
21 0.35 OG 192 Fog Lamps Enable (T96)
22 0.35 GN/WH 7158 Cruise Control Indicator Dimming Signal
23-25 - - Not Used
Connector Part Information 
  • OEM: 15482791
  • Service: 88988840
  • Description: 25-Way F HIT Series (L-BU)
Terminal Part Information 
  • Pins: 1-3, 5
  • Terminal/Tray: SNAC-A061T-M2.8/20
  • Core/Insulation Crimp: E/A
  • Release Tool/Test Probe: 12094429/J-35616-4A (PU)
  • Pins: 8-19, 21, 22
  • Terminal/Tray: SNAC3-A021T-M0.64/20
  • Core/Insulation Crimp: J/J
  • Release Tool/Test Probe: 12094429/J-35616-64B (L-BU)