LEMON Manuals: Even more car manuals for everyone
Home >> Chevrolet >> 2009 >> Traverse LS, AWD >> Repair and Diagnosis (Single Page) >> Quick Lookups >> Wiring Diagrams >> Wiring Systems And Power Management - Component & Splice Pack Connector End Views >> Component Connector End Views >> Accessory AC/DC Power Control Module X2 (KV1)

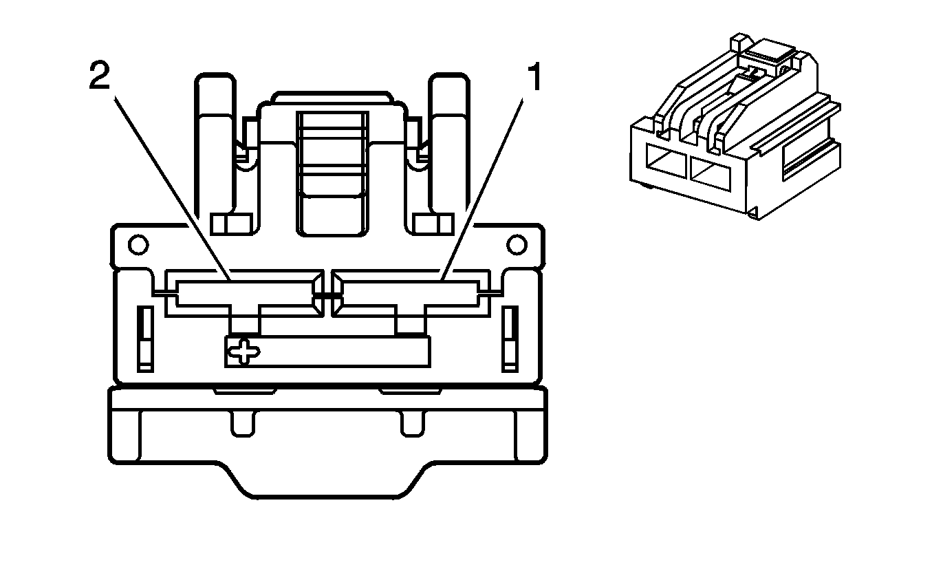
Accessory AC/DC Power Control Module X2 (KV1)

Fig 1: Accessory AC/DC Power Control Module X2 (KV1) Connector End View
GM1538784Courtesy of GENERAL MOTORS CORP.
Accessory AC/DC Power Control Module X2 (KV1)

Pin Wire Circuit Function
1 3 BK 650 Ground
2 3 RD/WH 2740 Battery Positive Voltage
Connector Part Information 
  • OEM: 6098-4539
  • Service: 88987988
  • Description: 2-Way F Receptacle 6.3 Series (BK)
Terminal Part Information 
  • Terminal/Tray: 7116-4122-02/10
  • Core/Insulation Crimp: A/B
  • Release Tool/Test Probe: 12094430/J-35616-42 (RD)