LEMON Manuals: Even more car manuals for everyone
Home >> Chevrolet >> 2009 >> Traverse LS, AWD >> Repair and Diagnosis (Single Page) >> Electrical >> Wiring Diagrams >> Wiring Systems And Power Management - Component & Splice Pack Connector End Views >> Component Connector End Views >> Body Control Module (BCM) X5

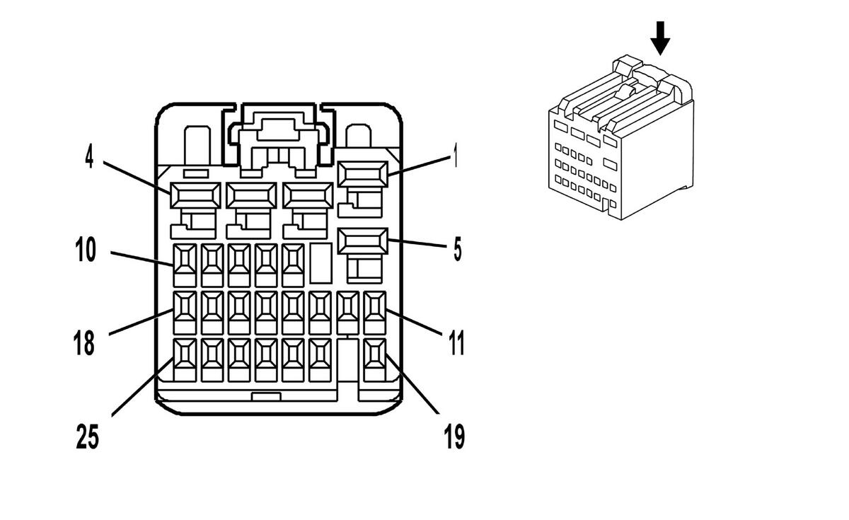
Body Control Module (BCM) X5

Fig 1: Body Control Module (BCM) X5 Connector End View
GM1664500Courtesy of GENERAL MOTORS CORP.
Body Control Module (BCM) X5

Pin Wire Circuit Function
1 0.8 YE 18 Left Rear Stop/Turn Lamp Voltage
2 0.8 D-GN 19 Right Rear Stop/Turn Lamp Voltage
3 - - Not Used
4 0.8 L-BU/WH 1314 Left Turn Signal Indicator Lamp Voltage
5 0.8 L-BU 1320 Stop Lamp Voltage
6 0.5 WH 17 Stop Lamp Voltage
7 - - Not Used
8 0.35 PK 5076 Current Sensor Voltage
9 0.35 WH 5075 Current Sensor Signal
10 0.35 BN 5077 Low Reference
11 0.35 D-GN 5706 Liftgate Relay High Control (TB4)
12 - - Not Used
13 0.35 OG 300 Power Mode
14 0.35 WH 2283 Rear Wiper/Washer Switch Voltage
15 0.35 PU 5531 Hood Closed Switch Signal (BTV)
16 0.5 OG/BK 233 Park Brake Switch Signal
17 0.5 YE/BK 5356 Left Tail Lamp Outage Detection Signal (Z88)
18 0.35 TN 28 Horn Relay Control
19 - - Not Used
20 0.35 GY 91 Windshield Wiper Switch Signal 2
21 0.35 TN 860 Front Windshield Wiper Switch High Signal
22 - - Not Used
23 0.35 PK/WH 1970 Headlamp Low Beam Relay Control (W49 or WDA or Z88 with TVD)
24 0.35 WH 1080 Park Lamp Relay Control
25 - - Not Used
Connector Part Information 
  • OEM: 15480179
  • Service: 88988837
  • Description: 25-Way F HIT Series (BN)
Terminal Part Information 
  • Pins: 6, 8-11, 13-18, 20, 21, 23, 24
  • Terminal/Tray: SNAC3-A021T-M0.64/20
  • Core/Insulation Crimp: J/J
  • Release Tool/Test Probe: 12094429/J-35616-64B (L-BU)
  • Pins: 1-5
  • Terminal/Tray: SNAC-A061T-M2.8/20
  • Core/Insulation Crimp: E/A
  • Release Tool/Test Probe: 12094429/J-35616-4A (PU)