LEMON Manuals: Even more car manuals for everyone
Home >> Chevrolet >> 2009 >> Traverse LS, AWD >> Repair and Diagnosis (Single Page) >> Electrical >> Wiring Diagrams >> Wiring Systems And Power Management - Component & Splice Pack Connector End Views >> Component Connector End Views >> Body Control Module (BCM) X4

Body Control Module (BCM) X4

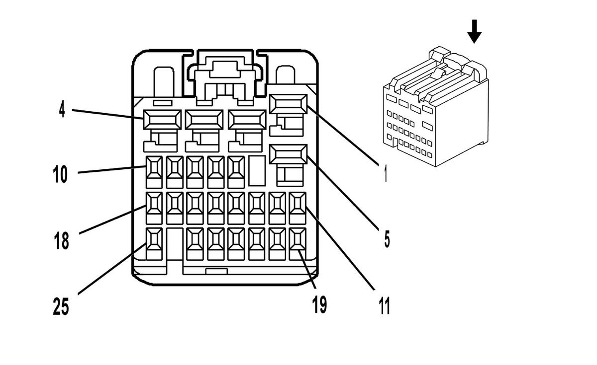
Fig 1: Body Control Module (BCM) X4 Connector End View
GM1664499Courtesy of GENERAL MOTORS CORP.
Body Control Module (BCM) X4

Pin Wire Circuit Function
1 0.8 RD/WH 340 Battery Positive Voltage (Z88 or W49)
1 RD/WH 340 Battery Positive Voltage (WDA)
2 1 RD/WH 240 Battery Positive Voltage
3 1 RD/WH 440 Battery Positive Voltage
4 0.8 RD/WH 2140 Battery Positive Voltage
5 1 D-BU/WH 1315 Right Turn Signal Indicator Lamp Voltage
6 - - Not Used
7 0.35 YE 196 Windshield Wiper Motor Park Switch Signal
8 - - Not Used
9 0.35 BK 50 Ground
10 0.35 RD/WH 2440 Battery Positive Voltage
11 0.35 D-GN/WH 1317 Fog Lamp Relay Control (T96)
12 0.5 YE 5187 Right Trailer Turn Signal Lamp (V92)
13 0.5 OG 5186 Left Trailer Turn Signal Lamp (V92)
14 - - Not Used
15 0.35 OG 2268 Windshield Washer Relay Control
16 0.35 TN/WH 1969 Headlamp Relay Control (W49 or WDA or Z88 with TVD)
17 0.35 PK/BK 109 Hood Ajar Switch Signal (BTV)
18 - - Not Used
19 0.35 D-BU 5985 Ignition Voltage
20 - - Not Used
21 0.35 PK 1439 Ignition Voltage
22 0.35 YE 5704 Liftgate Latch Relay Coil Control (TB4)
23 0.35 PU 544 Headlamp Low Beam Voltage (W49 or WDA or Z88 with TVD)
24-25 - - Not Used
Connector Part Information 
  • OEM: 15482792
  • Service: 88988841
  • Description: 25-Way F HIT Series (BK)
Terminal Part Information 
  • Pins: 7, 9-13, 15-17, 19, 21-23
  • Terminal/Tray: SNAC3-A021T-M0.64/20
  • Core/Insulation Crimp: J/J
  • Release Tool/Test Probe: 12094429/J-35616-64B (L-BU)
  • Pins: 1-5
  • Terminal/Tray: SNAC-A061T-M2.8/20
  • Core/Insulation Crimp: E/A
  • Release Tool/Test Probe: 12094429/J-35616-4A (PU)