LEMON Manuals: Even more car manuals for everyone
Home >> Chevrolet >> 2009 >> HHR SS, Automatic >> Repair and Diagnosis >> External Pages >> Different car >> Section 579 (Wiring Systems And Power Management - Component Connector End Views - MULTIFUNCTION Switch Through Trailer Connector) >> Component Connector End Views >> Speaker - Right Front Tweeter Connector End View

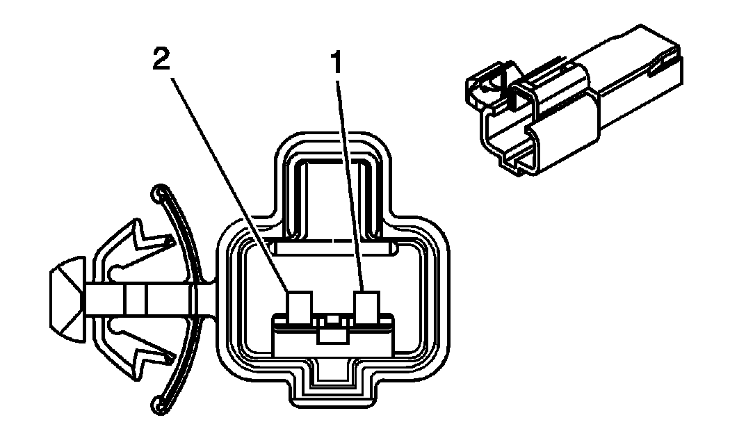
Speaker - Right Front Tweeter Connector End View

WARNING: This page is about a different car, the 2011 GMC Canyon and 2011 Chevrolet Colorado. However, it is still accessible from the selected car via links, so may be relevant.
Fig 1: Speaker - Right Front Tweeter Connector End View
GM1334462Courtesy of GENERAL MOTORS CORP.
Speaker - Right Front Tweeter

Pin Wire Circuit Function
1 0.5 D-GN 117 Right Front Speaker Output (-)
2 0.5 L-GN 200 Right Front Speaker Output (+)
Connector Part Information 
  • Harness: Right Door (Reg Cab)
  • Harness: Right Front Door (Ext or Crew Cab)
  • OEM: 15427362
  • Service Connector: 88987841
  • Description: 2-Way M (NA)
Terminal Part Information 
  • Terminated Lead: Pending
  • Release Tool: J-38125-12A
  • Diagnostic Test Probe: J-35616-19 (BK)
  • Terminal/Tray: 15305100/19
  • Core/Insulation Crimp: A/E/A