LEMON Manuals: Even more car manuals for everyone
Home >> Chevrolet >> 2009 >> HHR SS, Automatic >> Repair and Diagnosis >> External Pages >> Different car >> Section 579 (Wiring Systems And Power Management - Component Connector End Views - MULTIFUNCTION Switch Through Trailer Connector) >> Component Connector End Views >> Seat Adjuster Motor Assembly - Passenger (AG2) Connector End View

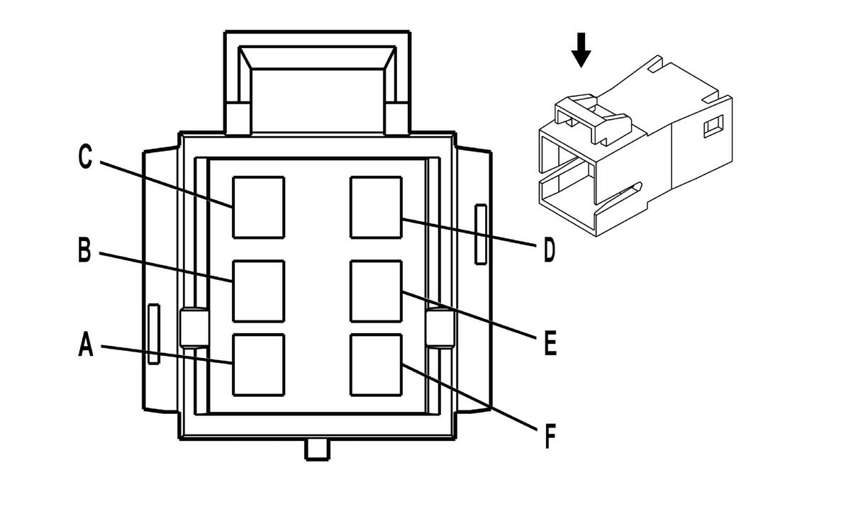
Seat Adjuster Motor Assembly - Passenger (AG2) Connector End View

WARNING: This page is about a different car, the 2011 GMC Canyon and 2011 Chevrolet Colorado. However, it is still accessible from the selected car via links, so may be relevant.
Fig 1: Seat Adjuster Motor Assembly - Passenger (AG2) Connector End View
GM39689Courtesy of GENERAL MOTORS CORP.
Seat Adjuster Motor Assembly - Passenger (AG2)

Pin Wire Circuit Function
A TN 285 Passenger Seat Horizontal Motor Forward Control
B L-GN 284 Passenger Seat Horizontal Motor Rearward Control
C D-GN 286 Passenger Seat Front Vertical Motor Up Control
D D-BU 287 Passenger Seat Front Vertical Motor Down Control
E YE 282 Passenger Seat Rear Vertical Motor Up Control
F L-BU 283 Passenger Seat Rear Vertical Motor Down Control
Connector Part Information 
  • Harness: Passenger Seat
  • OEM: 12064754
  • Service: 15305872
  • Description: 6-Way M Metri-Pack 280 Series Self Lock (BK)
Terminal Part Information 
  • Terminated Lead: 13575461
  • Release Tool: J-38125-11A
  • Diagnostic Test Probe: J-35616-5 (PU)
  • Terminal/Tray: 12020116/2
  • Core/Insulation Crimp: C/D