LEMON Manuals: Even more car manuals for everyone
Home >> Chevrolet >> 2008 >> Uplander Base, 3.9 1 >> Repair and Diagnosis >> Quick Lookups >> Electrical Component Locations >> Wiring Systems And Power Management - Component Views & Component Connector End Views >> Component Connector End Views >> Sit-N-Lift Seat/Door Jamb Switch Relay (AQW)

Sit-N-Lift Seat/Door Jamb Switch Relay (AQW)

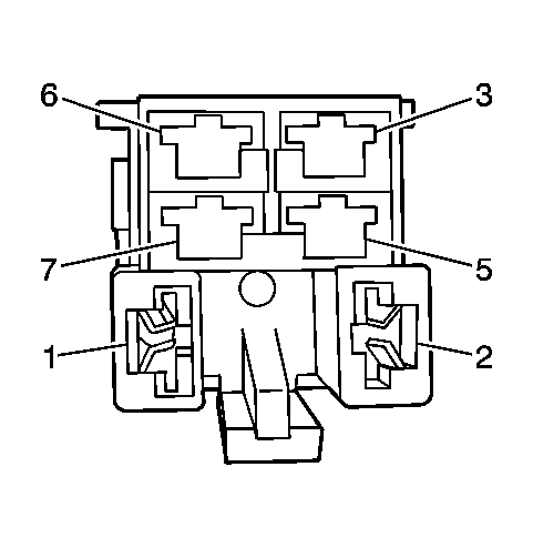
Fig 1: Sit-N-Lift Seat/Door Jamb Switch Relay (AQW) Connector End View
GM1387908Courtesy of GENERAL MOTORS CORP.
Sit-N-Lift Seat/Door Jamb Switch Relay (AQW)

Pin Wire Circuit Function
1 0.5 BU/YE AS31 Right Rear Door Open Switch Signal
2 0.5 RD/GN AS33 Battery Positive Voltage
3 0.5 GN AR01 Hand Held Remote Supply Voltage
5 0.5 RD/GN AS32 Battery Positive Voltage
6 0.5 BU/GN AJ10 Park Switch Signal
7 0.5 BU/BK M35 Park/Neutral Position Park Signal
Connector Part Information 
  • OEM: M06BR-R
  • Service: Not Serviced
  • Description: 6-Way F (BN)
Terminal Part Information 
  • Terminal: Not Serviced in Kit
  • Core/Insulation Crimp: N/A
  • Release Tool/Test Probe: N/A