LEMON Manuals: Even more car manuals for everyone
Home >> Chevrolet >> 2008 >> Uplander Base, 3.9 1 >> Repair and Diagnosis >> Quick Lookups >> Electrical Component Locations >> Wiring Systems And Power Management - Component Views & Component Connector End Views >> Component Connector End Views >> Sit-N-Lift Seat Module X2 (AQW)

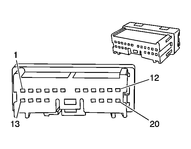
Sit-N-Lift Seat Module X2 (AQW)

Fig 1: Sit-N-Lift Seat Module X2 (AQW) Connector End View
GM1387907Courtesy of GENERAL MOTORS CORP.
Sit-N-Lift Seat Module X2 (AQW)

Pin Wire Circuit Function
1-3 - - Not Used
4 0.5 PU AS04 Swivel In Limit Switch Signal
5 0.5 BU/WH AS05 Swivel Out Limit Switch Signal
6 0.5 YE AS06 Lift Upper Limit Switch Signal
7 0.5 RD/YE AS07 Lift Lower Limit Switch Signal
8 0.5 YE/BK V02 Shift Interlock Relay Control
9 0.5 RD/BU AS30 Hand Held Remote Down Switch Signal
10 - - Not Used
11 0.5 BK/RD AS36 Ignition Signal
12 0.5 BU/YE AS28 Right Rear Door Open Switch Signal
13 - - Not Used
14 0.5 RD/WH AS14 Swivel Motor Hall Sensor Supply Voltage
15 - - Not Used
16 0.5 GN AS19 Swivel Motor Hall Sensor Signal
17 - - Not Used
18 0.5 BU/GN AJ09 Park Switch Signal
19 - - Not Used
20 0.5 RD/BK AS29 Hand Held Remote Up Switch Signal
Connector Part Information 
  • OEM: A20FW
  • Service: Not Serviced
  • Description: 20-Way F (WH)
Terminal Part Information 
  • Terminal: Not Serviced in Kit
  • Core/Insulation Crimp: N/A
  • Release Tool/Test Probe: N/A