LEMON Manuals: Even more car manuals for everyone
Home >> Chevrolet >> 2008 >> Uplander Base, 3.9 1 >> Repair and Diagnosis >> Quick Lookups >> Electrical Component Locations >> Wiring Systems And Power Management - Component Views & Component Connector End Views >> Component Connector End Views >> Mode Actuator - Auxiliary (C69)

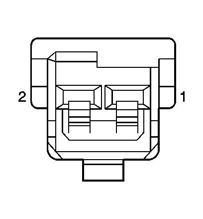
Mode Actuator - Auxiliary (C69)

Fig 1: Mode Actuator - Auxiliary (C69) Connector End View
GM1538762Courtesy of GENERAL MOTORS CORP.
Mode Actuator - Auxiliary (C69)

Pin Wire Circuit Function
1 0.5 GY 2614 Auxiliary Mode Door Control
2 0.35 YE 1791 Common Door Control
Connector Part Information 
  • OEM: 776128-6
  • Service: See Catalog
  • Description: 2-Way F Multi-Lock Plug Housing (GY)
Terminal Part Information 
  • Terminal: 173630-7/Tray 7
  • Core/Insulation Crimp: E/4
  • Release Tool/Test Probe: 15315247/J-35616-33