LEMON Manuals: Even more car manuals for everyone
Home >> Chevrolet >> 2008 >> Uplander Base, 3.9 1 >> Repair and Diagnosis >> Quick Lookups >> Electrical Component Locations >> Wiring Systems And Power Management - Component Views & Component Connector End Views >> Component Connector End Views >> Inflatable Restraint Sensing and Diagnostic Module (SDM) (AJ7/AK5)

Inflatable Restraint Sensing and Diagnostic Module (SDM) (AJ7/AK5)

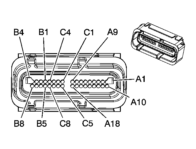
Fig 1: Inflatable Restraint Sensing and Diagnostic Module (SDM) (AJ7/AK5) Connector End View
GM1394178Courtesy of GENERAL MOTORS CORP.
Inflatable Restraint Sensing and Diagnostic Module (SDM) (AJ7/AK5)

Pin Wire Circuit Function
A1 0.5 TN 3021 Steering Wheel Module Stage 1 - High Control
A2 0.5 BN 3020 Steering Wheel Module Stage 1 - Low Control
A3 0.5 OG 3024 Instrument Panel Module Stage 1 - Low Control
A4 0.5 YE 3025 Instrument Panel Module Stage 1 - High Control
A5 0.5 TN/WH 2118 Seat Belt Pretensioner - Left - High Control
A6 0.5 OG/BK 2119 Seat Belt Pretensioner - Left - Low Control
A7 0.5 OG 2117 Seat Belt Pretensioner - Right - Low Control
A8 0.5 L-GN 2116 Seat Belt Pretensioner - Right - High Control
A9 0.5 BK/WH 1751 Ground
A10 0.5 PK 1139 Ignition 1 Voltage
A11 0.35 D-BU 1128 Class 2 Serial Data
A12 0.35 TN 5072 Class 2 Serial Data (E58/E59)
A13 0.35 PK 5018 Occupant Sensor Serial Data
A14 0.35 D-GN 5016 Seat Belt Switch - Left - Signal
A15 - - Not Used
A16 0.35 OG 1362 Seat Belt Switch - Right - Signal
A17-A18 - - Not Used
B1 0.5 WH 3023 Steering Wheel Module Stage 2 - High Control
B2 0.5 PK 3022 Steering Wheel Module Stage 2 - Low Control
B3 0.5 PU 3026 Instrument Panel Module Stage 2 - Low Control
B4 0.5 GY 3027 Instrument Panel Module Stage 2 - High Control
B5 0.35 YE 354 Discriminating Sensor - Left - Signal
B6 0.35 TN/OG 5045 Low Reference
B7 0.35 GY 5600 Low Reference
B8 0.35 D-GN 1409 Discriminating Sensor - Right - Signal
C1 0.5 BN 2137 Side Impact Module - Left Front - High Control (AJ7)
C2 0.5 YE/BK 2138 Side Impact Module - Left Front - Low Control (AJ7)
C3 0.5 L-GN 2136 Side Impact Module - Right Front - Low Control (AJ7)
C4 0.5 TN/WH 2135 Side Impact Module - Right Front - High Control (AJ7)
C5 0.35 YE 2131 Side Impact Sensing Module - Left - Voltage (AJ7)
C6 0.35 WH 2132 Side Impact Sensing Module - Left - Signal (AJ7)
C7 0.35 D-GN 2134 Side Impact Sensing Module - Right - Signal (AJ7)
C8 0.35 TN 2133 Side Impact Sensing Module - Right - Voltage (AJ7)
Connector Part Information 
  • OEM: 13569275 (AK5)
  • OEM: 13569276 (AJ7)
  • Service: See Catalog
  • Description: 34-Way F Micro-Pack 100 W 2.5 CL Series (YE)
Terminal Part Information 
  • Terminal: Service with Terminated Lead
  • Core/Insulation Crimp: N/A
  • Release Tool/Test Probe: 12122523/J-35616-6