LEMON Manuals: Even more car manuals for everyone
Home >> Chevrolet >> 2008 >> Uplander Base, 3.9 1 >> Repair and Diagnosis >> Quick Lookups >> Electrical Component Locations >> Wiring Systems And Power Management - Component Views & Component Connector End Views >> Component Connector End Views >> Inflatable Restraint Front End Sensor - Right (AJ7/AK5)

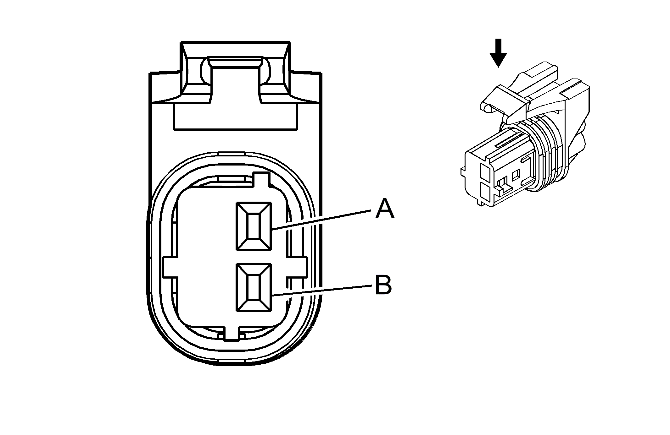
Inflatable Restraint Front End Sensor - Right (AJ7/AK5)

Fig 1: Inflatable Restraint Front End Sensor - Right (AJ7/AK5) Connector End View
GM684970Courtesy of GENERAL MOTORS CORP.
Inflatable Restraint Front End Sensor - Right (AJ7/AK5)

Pin Wire Circuit Function
A 0.35 GY 5600 Low Reference
B 0.35 D-GN 1409 Discriminating Sensor - Right - Signal
Connector Part Information 
  • OEM: 15356724
  • Service: 15306362
  • Description: 2-Way F GT 150 Series Sealed (YE)
Terminal Part Information 
  • Terminal: Service with Pigtail
  • Core/Insulation Crimp: N/A
  • Release Tool/Test Probe: See Terminal Repair Kit