LEMON Manuals: Even more car manuals for everyone
Home >> Chevrolet >> 2008 >> HHR SS, Automatic >> Repair and Diagnosis >> Quick Lookups >> Electrical Component Locations >> Wiring Systems And Power Management - Component Views & Component Connector End Views >> Component Connector End Views >> Speaker - Left Front Tweeter

Speaker - Left Front Tweeter

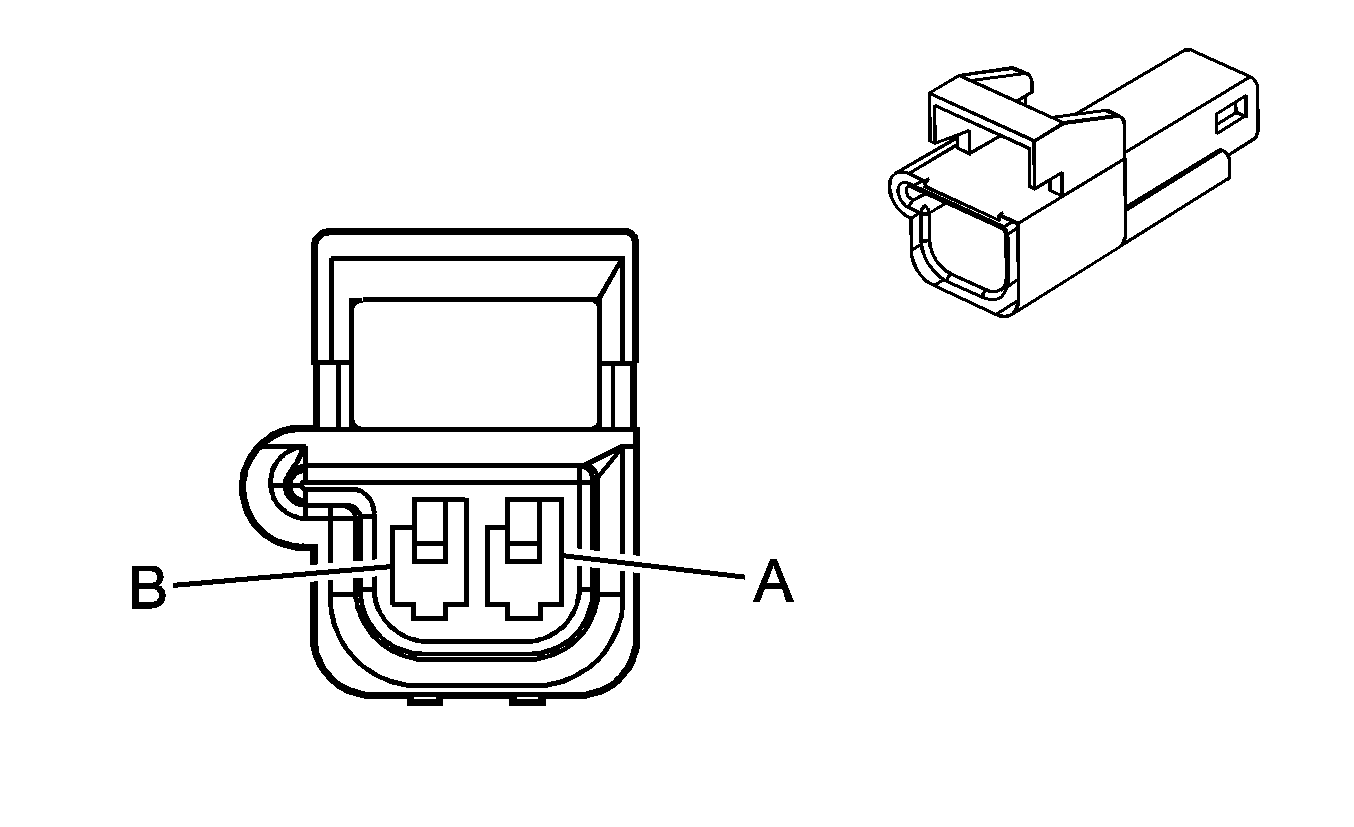
Fig 1: Speaker - Left Front Tweeter Connector End View
GM130642Courtesy of GENERAL MOTORS CORP.
Speaker - Left Front Tweeter

Pin Wire Circuit Function
A 0.35 GY 118 Left Front Speaker Output (-)
B 0.35 TN 201 Left Front Speaker Output (+)
Connector Part Information 
  • OEM: 12103021
  • Service: 12106048
  • Description: 2-Way M Metri-Pack 150 Series (BU)
Terminal Part Information 
  • Terminal/Tray: 12047581/2
  • Core/Insulation Crimp: E/C
  • Release Tool/Test Probe: 12094429/J-35616-3 (GY)