LEMON Manuals: Even more car manuals for everyone
Home >> Chevrolet >> 2008 >> HHR SS, Automatic >> Repair and Diagnosis >> Quick Lookups >> Electrical Component Locations >> Wiring Systems And Power Management - Component Views & Component Connector End Views >> Component Connector End Views >> Heated Seat Control Module - Passenger (KA1)

Heated Seat Control Module - Passenger (KA1)

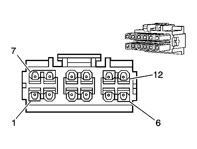
Fig 1: Heated Seat Control Module - Passenger (KA1) Connector End View
GM1519708Courtesy of GENERAL MOTORS CORP.
Heated Seat Control Module - Passenger (KA1)

Pin Wire Circuit Function
1 0.35 D-BU/WH 1686 Passenger Heated Seat Low Indicator Control
2 0.35 BK 1550 Ground
3 0.35 PK 1639 Ignition 1 Voltage
4 0.35 BN/WH 1685 Passenger Heated Seat High Indicator Control
5-7 - - Not Used
8 0.35 PK 2479 Passenger Heated Seat Element Supply Voltage
9 0.35 PK/BK 1503 Passenger Heated Seat High/Low Signal
10 0.35 RD/WH 340 Battery Positive Voltage
11 0.35 BK 1550 Ground
12 0.35 D-BU 5475 Passenger Heated Seat Temperature Sensor Signal
Connector Part Information 
  • OEM: 15-97-5121
  • Service: Serviced by Complete Seat Harness
  • Description: 12-Way F Mini Fit TPA (BK)
Terminal Part Information 
  • Terminal/Tray: See Terminal Repair Kit
  • Core/Insulation Crimp: See Terminal Repair Kit
  • Release Tool/Test Probe: See Terminal Repair Kit