LEMON Manuals: Even more car manuals for everyone
Home >> Chevrolet >> 2007 >> Impala SS >> Repair and Diagnosis >> External Pages >> Different car >> Section 194 (Object Detection System) >> Repair Instructions >> Rear Object Sensor Replacement >> Removal Procedure

Removal Procedure

WARNING: This page is about a different car, the 2006 Pontiac Montana SV6, 2006 Chevrolet Uplander, and 2006 Buick Terraza. However, it is still accessible from the selected car via links, so may be relevant.
    Fig 1: View Of Rear Object Sensor Electrical Connectors
    GM489061Courtesy of GENERAL MOTORS CORP.
  1. Remove rear bumper fascia. Refer to Fascia Replacement - Rear Bumper (Pontiac) , Fascia Replacement - Rear Bumper (Buick) or Fascia Replacement - Rear Bumper (Chevrolet) .
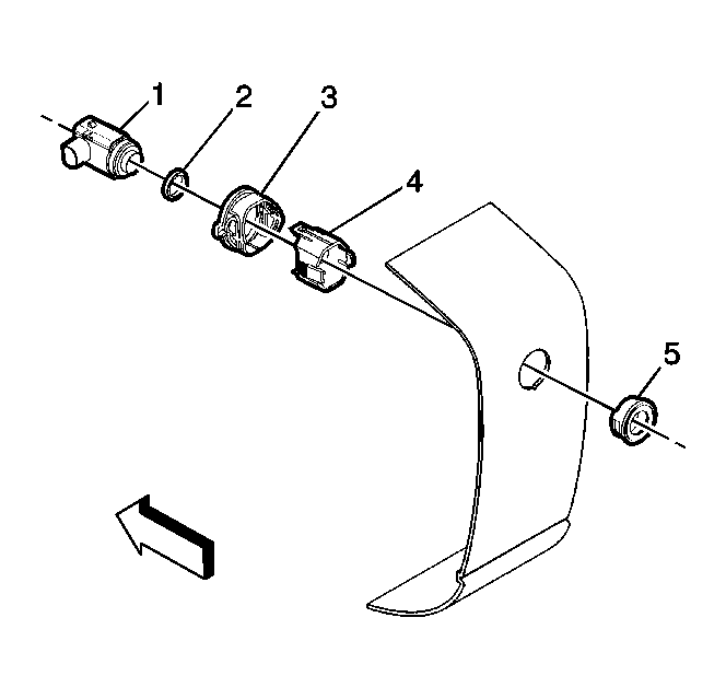
  2. Fig 2: View Of Rear Object Sensor Assembly
    GM500502Courtesy of GENERAL MOTORS CORP.
  3. Lift the locking tabs on the housing (4) and remove the rear object sensor (1).
  4. Fig 3: View Of Spring & Housing
    GM489063Courtesy of GENERAL MOTORS CORP.
  5. Squeeze the spring (1) and remove it from the housing (2).
  6. Fig 4: View Of Rear Object Sensor Housing
    GM489064Courtesy of GENERAL MOTORS CORP.
  7. Release the tabs on the housing and remove.
  8. Fig 5: Painting Rear Object Sensor Bezel
    GM489066Courtesy of GENERAL MOTORS CORP.
  9. Remove the rear object sensor bezel from the rear fascia.