LEMON Manuals: Even more car manuals for everyone
Home >> Chevrolet >> 2007 >> Impala SS >> Repair and Diagnosis >> External Pages >> Different car >> Section 194 (Object Detection System) >> Repair Instructions >> Rear Object Sensor Replacement >> Installation Procedure

Installation Procedure

WARNING: This page is about a different car, the 2006 Pontiac Montana SV6, 2006 Chevrolet Uplander, and 2006 Buick Terraza. However, it is still accessible from the selected car via links, so may be relevant.
    IMPORTANT: DO NOT refinish previously painted sensors.
  1. Paint the new rear object sensor. Refer to Basecoat/Clearcoat Paint Systems .
  2. Inspect the paint thickness to ensure it does not exceed 6 mm using a paint thickness gauge suitable for non-ferrous metals.
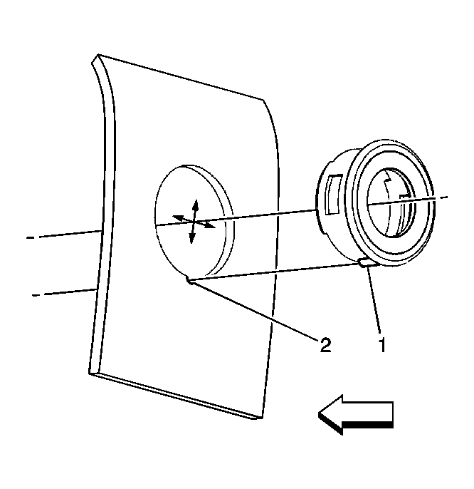
  3. Fig 1: Aligning Keyhole With Key
    GM500505Courtesy of GENERAL MOTORS CORP.
  4. Align the keyhole (2) with the key (1) and press the rear object sensor bezel flush to the fascia.
  5. Fig 2: View Of Rear Object Sensor Housing
    GM489064Courtesy of GENERAL MOTORS CORP.
  6. Install the housing to the cutouts on the bezel through the back side of the fascia.
  7. IMPORTANT: The spring keys must be on the top and bottom of the housing.
    Fig 3: View Of Spring & Housing
    GM489063Courtesy of GENERAL MOTORS CORP.
  8. Install the spring (1) to the housing (2).
  9. Fig 4: View Of Rear Object Sensor Assembly
    GM500502Courtesy of GENERAL MOTORS CORP.
  10. Install the decoupling ring (2) to the sensor (1).
  11. Insert the sensor into the housing (4) with the connector pointing toward the passenger side of the fascia. Press the sensor tabs into the cutouts on the housing (4).
  12. Fig 5: View Of Rear Object Sensor Electrical Connectors
    GM489061Courtesy of GENERAL MOTORS CORP.
  13. Connect the electrical connector.
  14. Install the rear bumper fascia. Refer to Fascia Replacement - Rear Bumper (Pontiac) , Fascia Replacement - Rear Bumper (Buick) or Fascia Replacement - Rear Bumper (Chevrolet) .