LEMON Manuals: Even more car manuals for everyone
Home >> Chevrolet >> 2007 >> Impala SS >> Repair and Diagnosis (Single Page) >> Electrical >> Body Electrical >> OEM Connector End Views >> Engine Control Module Connector End Views (5.3L) >> Engine Control Module (ECM) Connector End View C1

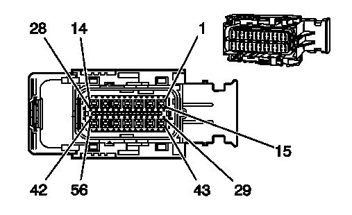
Engine Control Module (ECM) Connector End View C1

Fig 1: Engine Control Module (ECM) C1 Connector End View
GM1673474Courtesy of GENERAL MOTORS CORP.
Engine Control Module (ECM) C1 Connector Parts Information

Connector Part Information 
  • OEM: 13510837
  • Service: 88953346
  • Description: 56-Way F MX123 Series (BK)
Terminal Part Information 
  • Terminal/Tray: 15359541/4
  • Core/Insulation Crimp: M/M
  • Release Tool/Test Probe: 15381651-2/J-35616-64B (L-BU)
Engine Control Module (ECM) C1 Connector Terminal Identification

Pin Wire Color Circuit No. Function
1-6 - - Not Used
7 WH 17 Stop lamp Switch Signal
8 - - Not Used
9 TN 2759 Low Reference
10-11 - - Not Used
12 BN/WH 419 MIL Control
13 D-GN/WH 465 Fuel Pump Relay Control
14-17 - - Not Used
18 D-BU 5985 Accessory Wake Up Serial Data
19 PK 439 Ignition 1 Voltage
20 RD/WH 540 Battery Positive Voltage
21-25 - - Not Used
26 YE 447 Starter Relay Coil Control
27-30 - - Not Used
31 YE/BK 6032 Low Reference
32 GY 6031 5-Volt Reference 1
33 WH/BK 1164 Low Reference
34 GY 2709 5-Volt Reference 1
35 TN 1274 5-Volt Reference 2
36 BN 1271 5-Volt Reference 1
37 PU 1272 Low Reference
38-39 - - Not Used
40 BN 5069 PWR/TRN Relay Control
41-43 - - Not Used
44 PU 30 Fuel Level Sensor Signal
45 - - Not Used
46 OG 6030 Brake Booster Vacuum Signal
47 D-BU 1161 APP Sensor 2 Signal
48 D-GN 890 Fuel Tank Pressure Sensor Signal
49 L-BU 1162 APP Sensor 1 Signal
50-52 - - Not Used
53 D-GN/WH 459 A/C Compressor Clutch Relay Control
54 D-BU 473 High Speed Cooling Fan Relay Control
55 WH 1310 EVAP Canister Vent Solenoid Control
56 - - Not Used