LEMON Manuals: Even more car manuals for everyone
Home >> Chevrolet >> 2007 >> Impala SS >> Repair and Diagnosis (Single Page) >> Electrical >> Body Electrical >> OEM Connector End Views >> Engine Control Module Connector End Views (3.9L) >> Engine Control Module (ECM) Connector End View C1

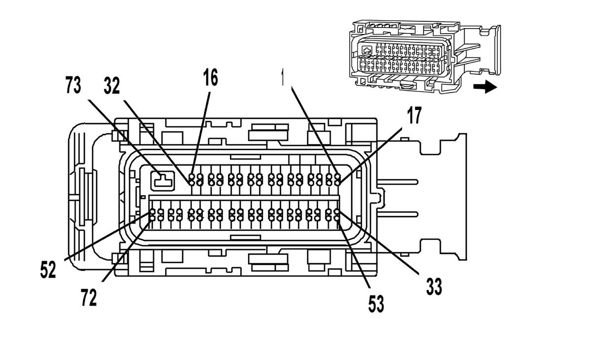
Engine Control Module (ECM) Connector End View C1

Fig 1: Engine Control Module (ECM) C1 Connector End View
GM1590596Courtesy of GENERAL MOTORS CORP.
Engine Control Module (ECM) C1 Connector Parts Information

Connector Part Information 
  • OEM: 15499466
  • Service: 88988360
  • Description: 73-Way F 0.64 2.8 Series, Sealed (BK)
Terminal Part Information 
  • Pins: 7, 20
  • Terminal/Tray: 33467-0005/23
  • Core/Insulation Crimp: J/J
  • Release Tool/Test Probe: J-38125-213/J-35616-64B (L-BU)
  • Pins: 9, 12, 13, 18, 19, 26, 33, 34, 35, 36, 37, 40, 44, 47, 48, 49, 53, 54, 55
  • Terminal/Tray: 33467-0003/23
  • Core/Insulation Crimp: H/H
  • Release Tool/Test Probe: J-38125-213/J-35616-64B (L-BU)
Engine Control Module (ECM) C1 Connector Terminal Identification

Pin Wire Color Circuit No. Function
1 OG/BK 1786 Park/Neutral Signal
2-8 - - Not Used
9 WH 17 Stop Lamp Switch Signal
10 PU 3120 HO2S High Signal Sensor 2
11 GY/WH 3122 HO2S Low Signal Sensor 2
12 OG/BK 380 A/C Refrigerant Pressure Sensor Signal
13 TN 5514 Low Reference
14 OG/BK 6014 Low Reference
15 GY/BK 433 BARO Sensor Signal
16 PU 30 Fuel Level Sensor Signal
17 D-BU 473 High Speed Cooling Fan Relay Control
18 D-BU 5985 Accessory Wake Up Serial Data
19 PK 439 Ignition 1 Voltage
20 RD/WH 540 Battery Positive Voltage
21 OG 6030 Brake Booster Vacuum Signal
22 YE/BK 6032 Low Reference
23 PU 1272 Low Reference
24 D-GN 890 Fuel Tank Pressure Sensor Signal
25-26 - - Not Used
27 TN 2501 High Speed GMLAN Serial Data Bus -
28 TN/BK 2500 High Speed GMLAN Serial Data Bus +
29 D-BU 1161 APP Sensor 1 Signal
30 BN 1271 Low Reference
31 TN 2759 Low Reference
32 L-BU 1162 APP Sensor 2 Signal
33 GY 2709 5-Volt Reference 1
34 GY 2700 5-Volt Reference 1
35 WH/BK 2932 5-Volt Reference 2
36 TN 1274 5-Volt Reference 1
37 TN/BK 472 IAT Sensor Signal
38 TN 2760 Low Reference
39-40 - - Not Used
41 YE 492 MAF Sensor Signal
42-46 - - Not Used
47 PK/BK 5290 Ignition 1 Voltage
48-49 - - Not Used
50 D-GN/WH 465 Fuel Pump Relay Control
51 - - Not Used
52 YE 447 Starter Relay Coil Control
53 GY 6031 5-Volt Reference 2
54-55 - - Not Used
56 WH/BK 1164 5-Volt Reference 2
57 - - Not Used
58 D-GN 335 Low Speed Cooling Fan Relay Control
59 BN 5069 PWR/TRN Relay Control
60 - - Not Used
61 WH 1310 EVAP Canister Vent Solenoid Control
62 - - Not Used
63 D-GN/WH 459 A/C Compressor Clutch Relay Control
64 - - Not Used
65 TN/WH 3121 HO2S Heater Low Control Sensor 2
66-67 - - Not Used
68 BN/WH 419 MIL Control
69-72 - - Not Used
73 BK/WH 451 Ground