LEMON Manuals: Even more car manuals for everyone
Home >> Chevrolet >> 2007 >> Impala SS >> Repair and Diagnosis (Single Page) >> Electrical >> Body Electrical >> OEM Connector End Views >> Antilock Brake System Connector End Views >> Electronic Brake Control Module (EBCM) Connector End View

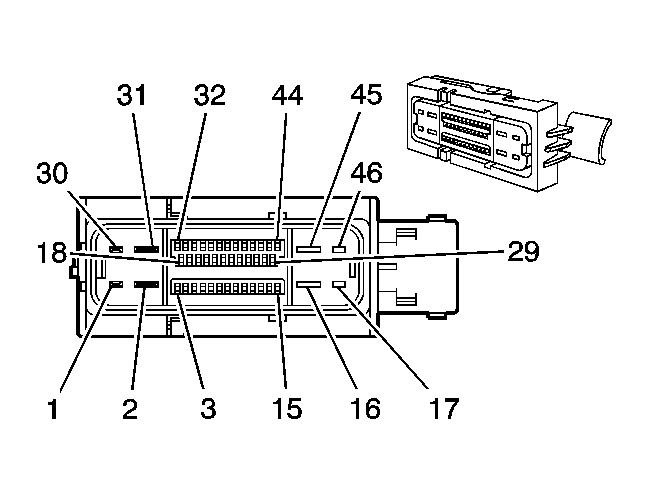
Electronic Brake Control Module (EBCM) Connector End View

Fig 1: Electronic Brake Control Module (EBCM) Connector End View
GM1673469Courtesy of GENERAL MOTORS CORP.
Electronic Brake Control Module (EBCM) Connector Parts Information

Connector Part Information 
  • OEM: 15492334
  • Service: See Catalog
  • Description: 46-Way F Receptacle 0.64 6.3 Sealed (BK)
Terminal Part Information 
  • Pins: 2, 31
  • Terminal/Tray: 7116-4142-02/10
  • Core/Insulation Crimp: D/3
  • Release Tool/Test Probe: 12094430/J-35616-42 (RD)
  • Pins: 16, 45
  • Terminal/Tray: 7116-4141-02/10
  • Core/Insulation Crimp: See Terminal Repair Kit
  • Release Tool/Test Probe: 12094430/J-35616-42 (RD)
  • Pins: 3, 4, 18, 19, 32, 12, 13, 21, 26, 27, 41, 42, 43, 44
  • Terminal/Tray: 638551-1/16
  • Core/Insulation Crimp: Pins 3, 4, 18, 19, 32 - J/J
  • Core/Insulation Crimp: Pins 12, 13, 21, 26, 27, 41, 42, 43, 44 - K/K
  • Release Tool/Test Probe: 15315247/J-35616-64A (L-BU)
Electronic Brake Control Module (EBCM) Connector Terminal Identification

Pin Wire Color Circuit No. Function
1 - - Not Used
2 RD/BK 1342 Battery Positive Voltage
3 TN/BK 2500 High Speed GMLAN Serial Data Bus +
4 TN/BK 2500 High Speed GMLAN Serial Data Bus +
5-11 - - Not Used
12 L-BU 830 Left Front Wheel Speed Sensor Signal
13 YE 873 Left Front Wheel Speed Sensor Low Reference
14-15 - - Not Used
16 BK/WH 251 Ground
17 - - Not Used
18 TN 2501 High Speed GMLAN Serial Data Bus -
19 TN 2501 High Speed GMLAN Serial Data Bus -
20 - - Not Used
21 BN 818 Vehicle Speed Signal (6J1)
22-25 - - Not Used
26 D-GN 872 Right Front Wheel Speed Sensor Signal
27 TN 833 Right Front Wheel Speed Sensor Low Reference
28-30 - - Not Used
31 RD/BK 1442 Battery Positive Voltage
32 L-BU 5986 Serial Data Communication Enable
33-40 - - Not Used
41 OG 885 Left Rear Wheel Speed Sensor Low Reference
42 TN 884 Left Rear Wheel Speed Sensor Signal
43 BN 882 Right Rear Wheel Speed Sensor Signal
44 WH 883 Right Rear Wheel Speed Sensor Low Reference
45 BK/WH 251 Ground
46 - - Not Used