LEMON Manuals: Even more car manuals for everyone
Home >> Chevrolet >> 2007 >> Impala SS >> Repair and Diagnosis (Single Page) >> Accessories & Equipment >> Entertainment Systems >> Cellular System, Entertainment System, And Navigation System >> Component Locator >> Entertainment/Communication Component Views

Entertainment/Communication Component Views

Fig 1: Radio and Speaker Components
GM1688791Courtesy of GENERAL MOTORS CORP.
Callout Component Name
1 Audio Amplifier (U87, UQ3)
2 Speaker - LR
3 Speaker - LF Door
4 Speaker - LF Tweeter (UQ3)
5 Radio
6 Speaker - RF Tweeter (UQ3)
7 Speaker - RF Door
8 Speaker - RR
Fig 2: Base of Left A-Pillar
GM1741862Courtesy of GENERAL MOTORS CORP.
Callout Component Name
1 Speaker - LF Tweeter (UQ3)
Fig 3: Base of the Right A-Pillar
GM1741878Courtesy of GENERAL MOTORS CORP.
Callout Component Name
1 Speaker - RF Tweeter (UQ3)
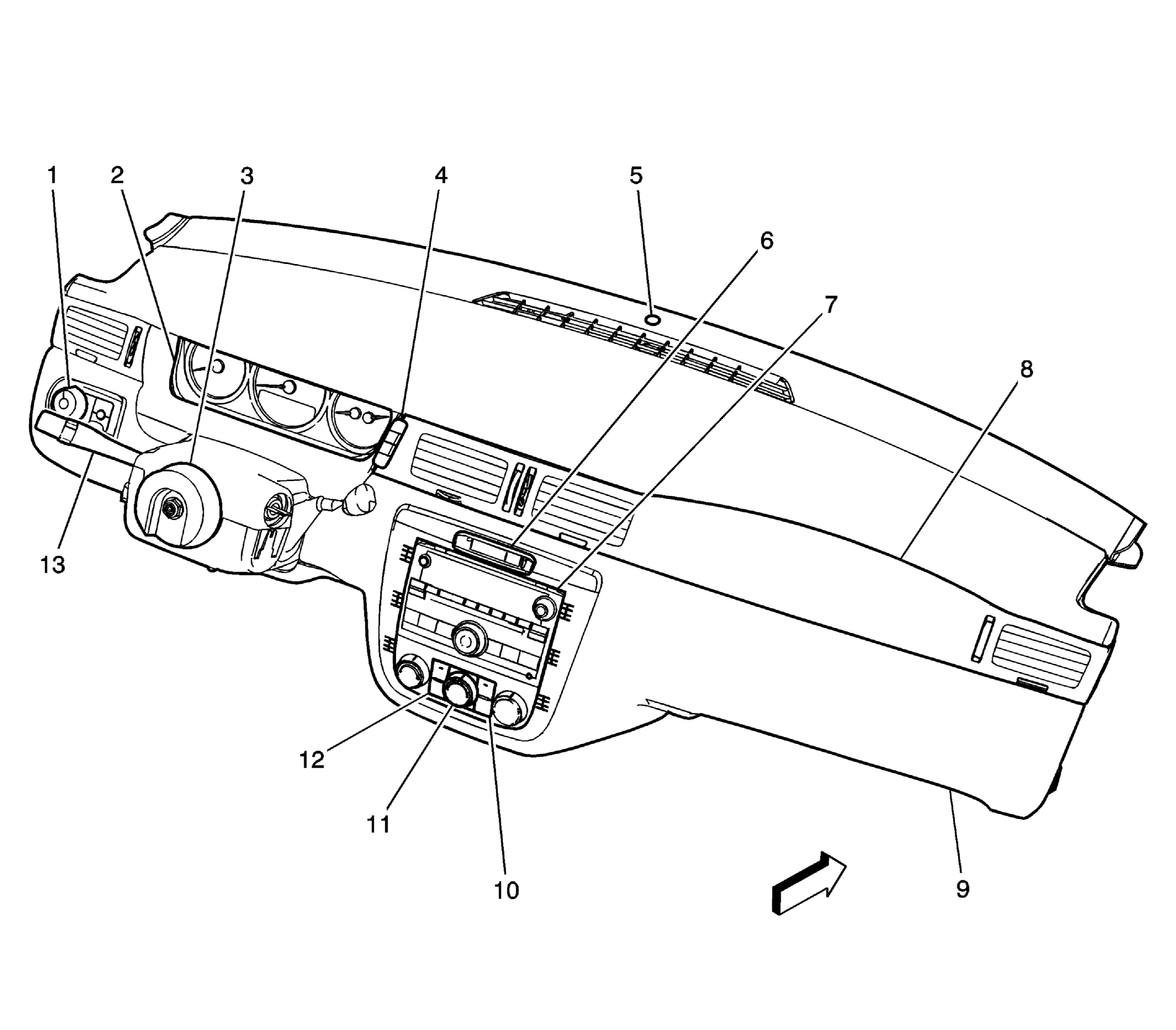
Fig 4: I/P Components
GM1653129Courtesy of GENERAL MOTORS CORP.
Callout Component Name
1 Headlamp Switch
2 Instrument Panel Cluster (IPC)
3 Inflatable Restraint Steering Wheel Module Coil
4 Driver Information Center (DIC) Switch
5 Ambient Light Sensor
6 Inflatable Restraint Passenger Air Bag On/Off Indicator (Sedan w/o 9C1, 9C3)
7 Radio
8 Inflatable Restraint I/P Module
9 I/P Trim Panel
10 Heated Seat Switch - Passenger (KA1)
11 HVAC Control Module
12 Heated Seat Switch - Driver (KA1)
13 Turn Signal/Multifunction Switch
Fig 5: Headliner Components - Top View
GM1653122Courtesy of GENERAL MOTORS CORP.
Callout Component Name
1 Headliner
2 Cellular Navigation and Digital Radio Antenna (UE1, U2K)
3 Inflatable Restraint Passenger Air Bag On/Off Indicator (Coupe)
4 Sunroof Motor (CF5)
Fig 6: Above Rear Seat
GM1700260Courtesy of GENERAL MOTORS CORP.
Callout Component Name
1 Left Rear C-Pillar
2 Radio Antenna Module
3 Rear Seat
Fig 7: Right Side of the Luggage Compartment
GM1700233Courtesy of GENERAL MOTORS CORP.
Callout Component Name
1 Rear Window
2 Junction Block - Rear (6J1)
3 Digital Radio Receiver (U2K)
Fig 8: Rear of Vehicle (Sedan)
GM1653145Courtesy of GENERAL MOTORS CORP.
Callout Component Name
1 Rear Window Defogger Grid
2 Radio Rear Window Antenna
3 Tail/Stop and Turn Signal Lamp - Right
4 Tail Lamp - Right
5 Backup Lamp - Right
6 License Lamp
7 Center High Mounted Stop Lamp (CHMSL)
8 Backup Lamp - Left
9 Tail Lamp - Left
10 Tail/Stop and Turn Signal Lamp - Left
Fig 9: Rear Of Vehicle (Coupe)
GM1671993Courtesy of GENERAL MOTORS CORP.
Callout Component Name
1 Center High Mounted Stop Lamp (CHMSL)
2 Radio Rear Window Antenna
3 Rear Window Defogger Grid
4 Tail Lamp - Right
5 Marker Lamp - RR
6 Tail/Stop and Turn Signal Lamp - Left
7 Backup Lamp - Right
8 License Lamp
9 Backup Lamp - Left
10 Tail/Stop and Turn Signal Lamp - Right
11 Marker Lamp - LR
12 Tail Lamp - Left
Fig 10: Left Side of Rear Compartment
GM1696879Courtesy of GENERAL MOTORS CORP.
Callout Component Name
1 Vehicle Communication Interface Module (VCIM) (UE1)
2 Backup Battery (UE1 Late Production)
3 Terminator Resistor (w/UE1)