LEMON Manuals: Even more car manuals for everyone
Home >> Chevrolet >> 2005 >> SSR Standard >> Repair and Diagnosis (Single Page) >> Body & Frame >> Windows >> Door System, Mirror System & Window System >> Component Locator >> Power Door Systems Component Views

Power Door Systems Component Views

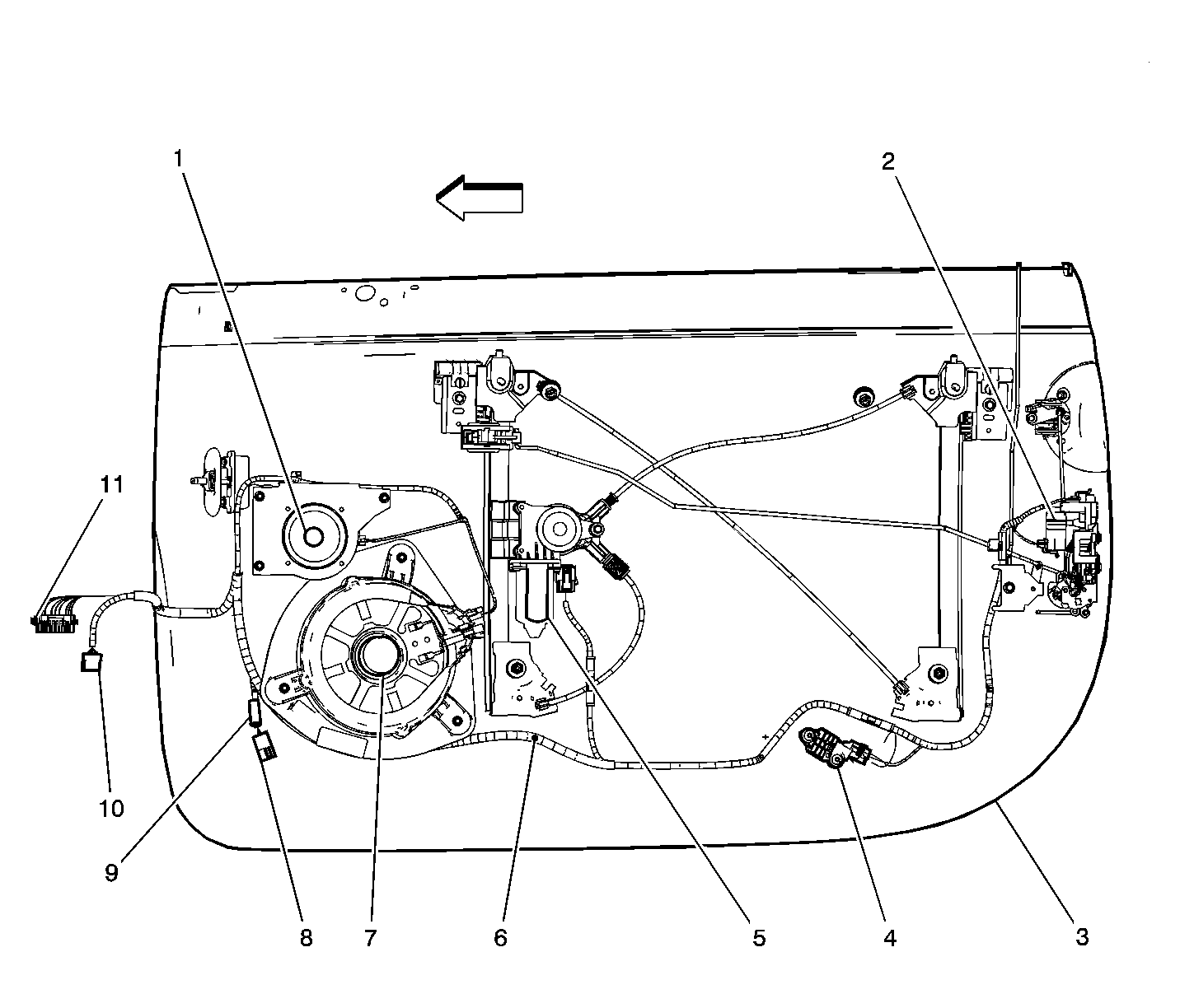
Fig 1: Identifying Driver Door Components
GM1557428Courtesy of GENERAL MOTORS CORP.
Callout Component Name
1 Outside Rearview Mirror Switch
2 Speaker - LF Door Midrange (Premium Radio)
3 C500
4 C501
5 S500
6 Outside Rearview Mirror - Driver
7 Speaker - LF Door (Premium Radio)
7 Speaker Assembly - LF Door (Base Radio)
8 S501
9 Window Motor - Driver
10 Inflatable Restraint Side Impact Sensor (SIS) - Left
11 Door Latch Assembly - Driver
Fig 2: Identifying Passenger Door Components
GM1557574Courtesy of GENERAL MOTORS CORP.
Callout Component Name
1 Speaker - RF Door Midrange (Premium Radio)
2 Door Latch Assembly - Passenger
3 Passenger Door
4 Inflatable Restraint Side Impact Sensor (SIS) - Right
5 Window Motor - Passenger
6 S601
7 Speaker - RF Door
8 Outside Rearview Mirror - Passenger
9 S600
10 C601
11 C600
Fig 3: Center Console Component View
GM1295195Courtesy of GENERAL MOTORS CORP.
Callout Component Name
1 Passenger Window Switch
2 Door Lock/Unlock Switch
3 Folding Top Switch
4 Center Console Switch Assembly
5 Traction ON/OFF Switch
6 Driver Window Switch
Fig 4: Power Mirror Component View
GM1295059Courtesy of GENERAL MOTORS CORP.
Callout Component Name
1 Outside Rearview Mirror Switch
2 Outside Rearview Mirror - Driver
3 Outside Rearview Mirror - Passenger
4 Passenger Door
5 Speaker - RF Door
6 Speaker - RF Door Midrange
7 Speaker - LF Door Midrange
8 Speaker - RF Door
9 Driver Door