LEMON Manuals: Even more car manuals for everyone
Home >> Chevrolet >> 2005 >> Optra5 Base, Automatic >> Repair and Diagnosis >> Engine Mechanical >> Cooling System (Mechanical) >> Engine Cooling >> Component Locator >> Cooling System Connector End Views

Cooling System Connector End Views

Cooling Fan - Auxiliary

GM1500905Courtesy of GENERAL MOTORS CORP.
Connector Part Information
  • KUM PB 045-02027
  • 2-Way F WWP02F-B Assembly (BK)
Pin Wire Color Circuit No. Function
1 BK 150 Ground
2 PU 532 Cooling Fan Motor Supply Voltage
Cooling Fan - Main

GM1466989Courtesy of GENERAL MOTORS CORP.
Connector Part Information
  • AMP 176146-2
  • 2-Way F 187 Series Sealed Connector 2 Pos Plug Hsg Assembly (BK)
Pin Wire Color Circuit No. Function
1 L-BU 504 Cooling Fan Low Reference
2 L-BU 409 Cooling Fan Motor Supply Voltage
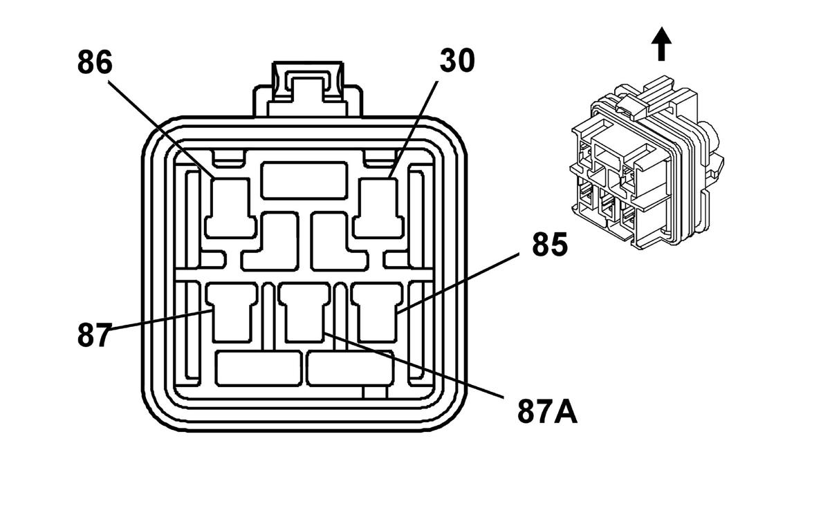
Cooling Fan Control Relay

GM535919Courtesy of GENERAL MOTORS CORP.
Connector Part Information
  • PED 12110539
  • 9-Way F Metri-Pack 280 Series Sealed (BK)
Pin Wire Color Circuit No. Function
1 (86) GY 473 High Speed Cooling Fan Relay Control
2 - - Not Used
3 (30) L-BU 504 Cooling Fan Low Reference
4-6 - - Not Used
7 (87) BK 50 Ground
8 (87A) PU 532 Cooling Fan Motor Supply Voltage
9 (85) PK/BK 1846 Ignition 1 Voltage