LEMON Manuals: Even more car manuals for everyone
Home >> Chevrolet >> 2005 >> Astro Van Passenger, AWD >> Repair and Diagnosis >> Engine Performance >> System >> Engine Controls - (Introduction) Specifications & Repair Instructions >> Repair Instructions >> Accelerator Controls Cable Replacement >> Installation Procedure

Installation Procedure

    Fig 1: Expanded View Of Accelerator Cable Assembly At The Bulkhead
    GM587901Courtesy of GENERAL MOTORS CORP.
  1. Install the accelerator cable to the bulkhead (1).
    • Ensure all locking tabs (3) are expanded to secure cable assembly to dash panel (1).
    • Ensure dash panel insulator does not come in contact with any portion of the cable.
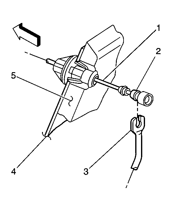
  2. Fig 2: Identifying Accelerator Cable Assembly Components
    GM590402Courtesy of GENERAL MOTORS CORP.
  3. Install the accelerator cable (1) to the accelerator pedal (3). Ensure the retainer (2) is securely seated to the accelerator pedal.
  4. Fig 3: Expanded View Of Accelerator Cable From The Engine Cable Bracket
    GM325557Courtesy of GENERAL MOTORS CORP.
  5. Install the accelerator cable to the engine cable bracket.
  6. Fig 4: Identifying Accelerator Cable/Throttle Body Lever
    GM325556Courtesy of GENERAL MOTORS CORP.
  7. Install the accelerator cable to the throttle lever.
  8. Install the air cleaner outlet duct. Refer to Air Cleaner Outlet Resonator Replacement .
  9. Install the engine cover. Refer to Engine Cover Replacement in Interior Trim.