LEMON Manuals: Even more car manuals for everyone
Home >> Chevrolet >> 2005 >> Astro Van Passenger, AWD >> Repair and Diagnosis >> Engine Performance >> System >> Engine Controls - (Introduction) Specifications & Repair Instructions >> Component Locator >> Engine Controls Component Views

Engine Controls Component Views

Fig 1: Powertrain Control Module (PCM) Location View
GM786705Courtesy of GENERAL MOTORS CORP.
Callout Component Name
1 Engine Harness
2 Battery
3 S154
4 Powertrain Control Module (PCM) Connector C1
5 Powertrain Control Module (PCM) Connector C2
6 Powertrain Control Module (PCM)
7 Fuel Pump Prime
Fig 2: MAF, IAT, & Air Cleaner Assembly Location View
GM241022Courtesy of GENERAL MOTORS CORP.
Callout Component Name
1 Intake Air Temperature (IAT) Sensor
2 Mass Air Flow (MAF) Sensor
3 Air Cleaner Assembly
Fig 3: Crankshaft Position (CKP) Sensor Component View
GM235188Courtesy of GENERAL MOTORS CORP.
Callout Component Name
1 Crankshaft
2 Front Engine Cover
3 Crankshaft Position (CKP) Sensor
Fig 4: Throttle Position (TP) Sensor, Idle Air Control (IAC) Valve, & Camshaft Position (CMP) Sensor Component View
GM830503Courtesy of GENERAL MOTORS CORP.
Callout Component Name
1 Throttle Position (TP) Sensor
2 Idle Air Control (IAC) Valve
3 Ignition Coil
4 Evaporative Emission (EVAP) Canister Purge Solenoid
5 Engine Oil Pressure (EOP) Sensor
6 Knock Sensor (KS)
7 Camshaft Position (CMP) Sensor
8 Fuel Pressure Connection Valve
Fig 5: MAP, Purge Solenoid, & Throttle Body Location View
GM786749Courtesy of GENERAL MOTORS CORP.
Callout Component Name
1 Throttle Body
2 Generator
3 Evaporative Emission (EVAP) Canister Purge Solenoid
4 Manifold Absolute Pressure (MAP) Sensor
Fig 6: Engine Coolant Temperature (ECT) Sensor Component View
GM235186Courtesy of GENERAL MOTORS CORP.
Callout Component Name
1 Bank 1 Cylinder Head
2 Engine Coolant Temperature (ECT) Sensor
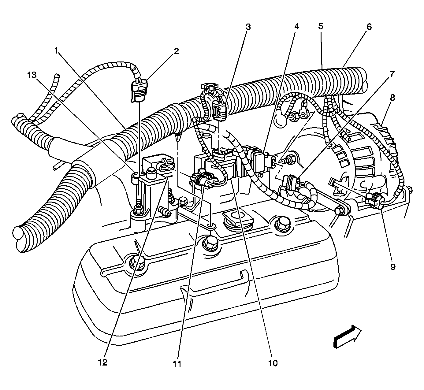
Fig 7: Engine Wiring, Right Side
GM582029Courtesy of GENERAL MOTORS CORP.
Callout Component Name
1 S123
2 Evaporative Emission (EVAP) Canister Purge Solenoid Connector
3 Ignition Coil Connector
4 Ignition Control Module (ICM)
5 S154
6 S119
7 Ignition Control Module (ICM) Connector
8 Generator
9 Generator Connector
10 Ignition Coil
11 Manifold Absolute Pressure (MAP) Sensor Connector
12 Manifold Absolute Pressure (MAP) Sensor
13 Evaporative Emission (EVAP) Canister Purge Solenoid
Fig 8: Heated Oxygen Sensors Location View
GM430019Courtesy of GENERAL MOTORS CORP.
Callout Component Name
1 Heated Oxygen Sensor (HO2S) Bank 1 Sensor 2
2 Heated Oxygen Sensor (HO2S) Bank 1 Sensor 1
3 Heated Oxygen Sensor (HO2S) Bank 2 Sensor 1
Fig 9: View Of VSS 2 Wheel Drive Automatic Transmission
GM209622Courtesy of GENERAL MOTORS CORP.
Callout Component Name
1 Vehicle Speed Sensor (VSS)
Fig 10: A4WD Transfer Case Wiring Harness Locator View
GM516428Courtesy of GENERAL MOTORS CORP.
Callout Component Name
1 Propshaft Speed Sensor - Rear Connector
2 Transfer Case Encoder Motor Connector
3 Vehicle Speed Sensor (VSS) Connector
4 Propshaft Speed Sensor - Front Connector
5 Transfer Case
6 P301
Fig 11: Evaporative Emission (EVAP) Canister Vent Solenoid Location View
GM241129Courtesy of GENERAL MOTORS CORP.
Callout Component Name
1 Left Hand Frame Rail
2 Fuel Filter
3 Evaporative Emission (EVAP) Canister Vent Solenoid
Fig 12: Fuel Tank, Fuel Tank Pressure (FTP) Sensor, and Fuel Sender Component View
GM241141Courtesy of GENERAL MOTORS CORP.
Callout Component Name
1 Fuel Tank
2 Fuel Pump and Sender Assembly
3 Fuel Tank Pressure (FTP) Sensor Connector
4 Fuel Pump and Sender Assembly Connector
5 Left Hand Frame Rail