LEMON Manuals: Even more car manuals for everyone
Home >> Chevrolet >> 2005 >> Astro Van Cargo, AWD >> Repair and Diagnosis >> Engine Performance >> System >> Engine Controls - (Introduction) Specifications & Repair Instructions >> Repair Instructions >> Fuel Pressure Regulator Replacement >> Installation Procedure

Installation Procedure

IMPORTANT: If the fuel pressure regulator is to be reinstalled, inspect the filter screen for contamination. If the filter screen is contaminated, replace the regulator.
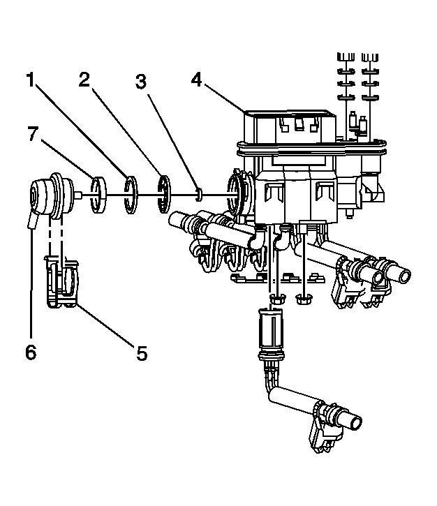
    Fig 1: Identifying Fuel Pressure Regulator Components
    GM830255Courtesy of GENERAL MOTORS CORP.
  1. Lubricate the new O-rings with clean engine oil.
  2. Install the regulator seal backup ring (7).
  3. Install the regulator seal upper O-ring (1).
  4. Install the regulator assembly filter (2).
  5. Install the regulator seal lower O-ring (3).
  6. Assemble the regulator (6) with the vacuum tube pointing down into the regulator retainer clip.
  7. Install the fuel pressure regulator retainer clip (5).
  8. Install the upper manifold assembly. Refer to Intake Manifold Replacement - Upper in Engine Mechanical-4.3L.
  9. Connect the negative battery cable.
  10. Inspect for leaks.
    1. Turn ON the ignition, with the engine OFF, for 2 seconds.
    2. Turn OFF the ignition for 10 seconds.
    3. Turn ON the ignition, with the engine OFF.
    4. Inspect for fuel leaks.
  11. Install the engine cover. Refer to Engine Cover Replacement in Interior Trim.