LEMON Manuals: Even more car manuals for everyone
Home >> Chevrolet >> 2004 >> Venture Base, Van Cargo Extended >> Repair and Diagnosis >> Engine Performance >> System >> Engine Control System - 3.4L (Introduction) >> Schematic and Routing Diagrams >> Engine Controls Schematics

Engine Controls Schematics

Fig 1: Module Power, Ground, Serial Data, and MIL Schematic
GM893930Courtesy of GENERAL MOTORS CORP.
Fig 2: Engine Data Sensors - 5-Volt and Low Reference Schematic
GM893958Courtesy of GENERAL MOTORS CORP.
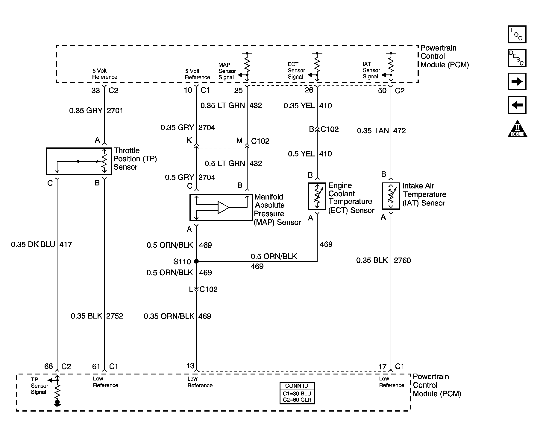
Fig 3: Engine Data Sensors - Pressure and Temperature Schematic
GM893960Courtesy of GENERAL MOTORS CORP.
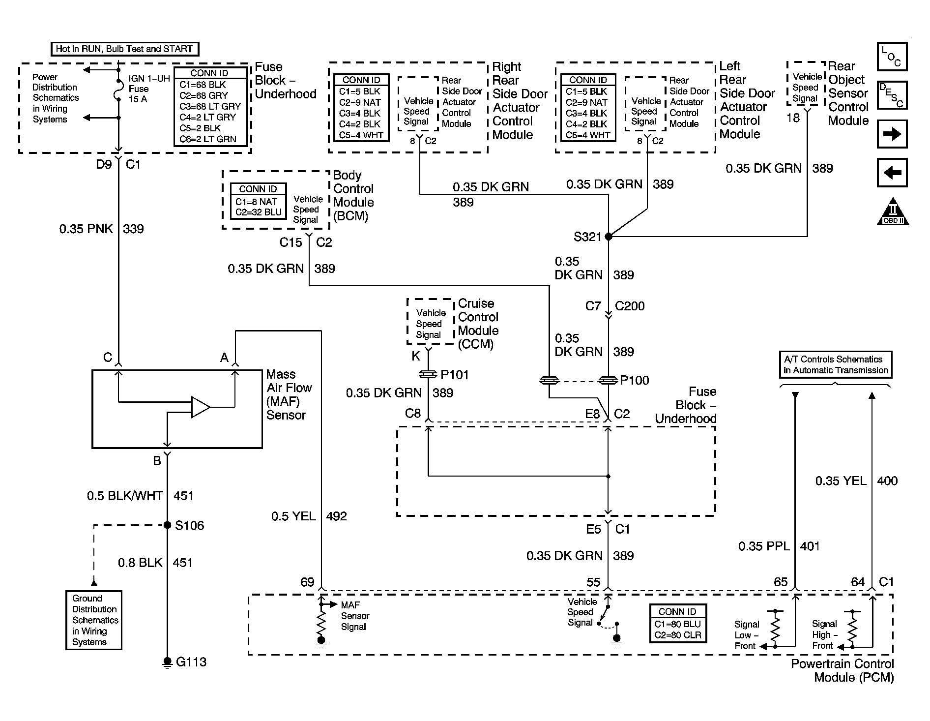
Fig 4: Engine Data Sensors - MAF and VSS Schematic
GM893965Courtesy of GENERAL MOTORS CORP.
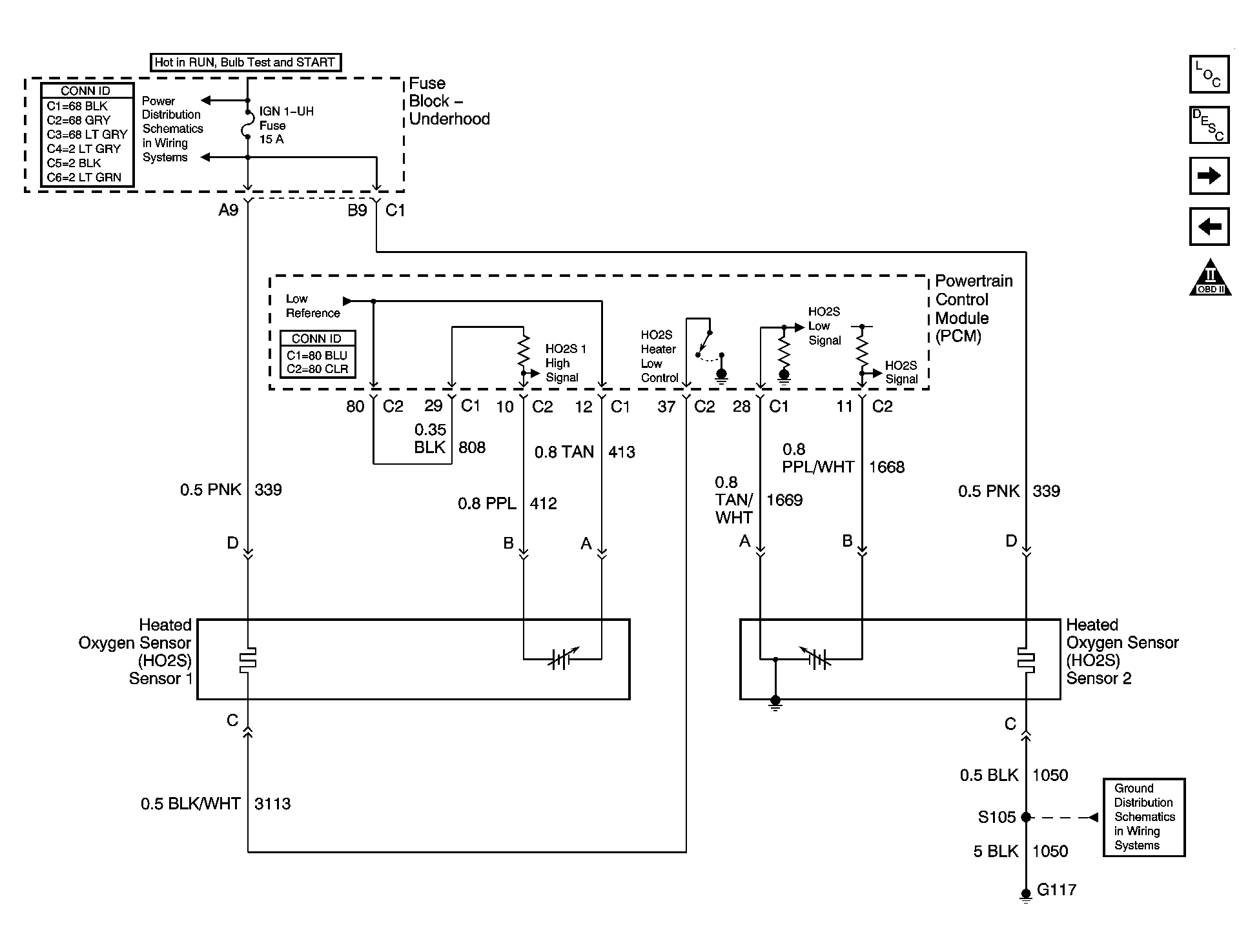
Fig 5: Engine Data Sensors - HO2S Schematic
GM893967Courtesy of GENERAL MOTORS CORP.
Fig 6: Ignition Controls - Ignition System and Sensors Schematic
GM893970Courtesy of GENERAL MOTORS CORP.
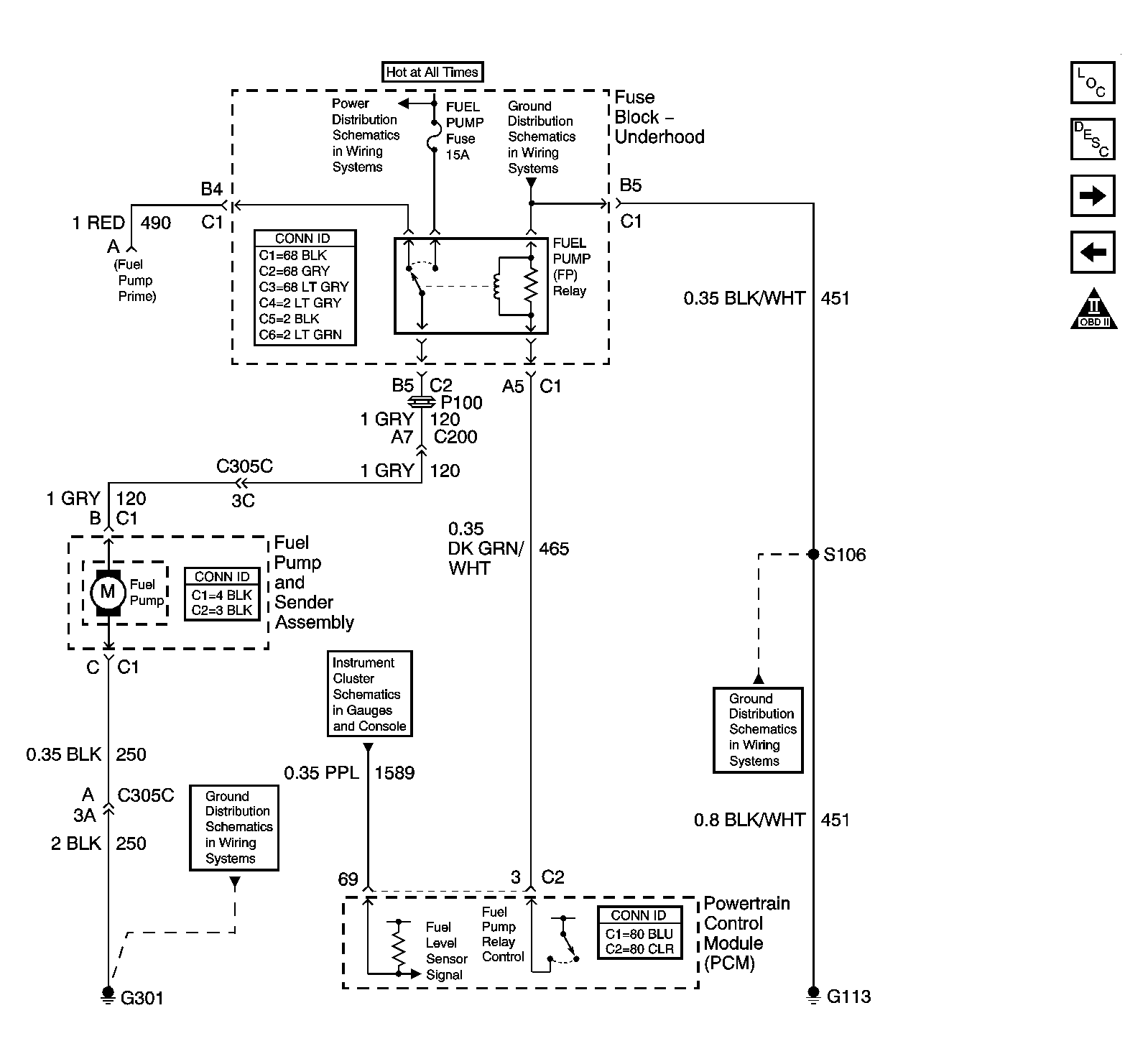
Fig 7: Fuel Controls - Fuel Pump Controls Schematic
GM893982Courtesy of GENERAL MOTORS CORP.
Fig 8: Fuel Controls - EVAP Controls Schematic
GM893987Courtesy of GENERAL MOTORS CORP.
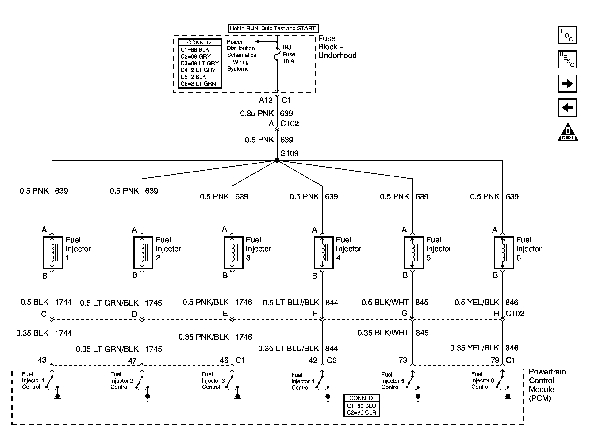
Fig 9: Fuel Control - Fuel Injectors Schematic
GM893988Courtesy of GENERAL MOTORS CORP.
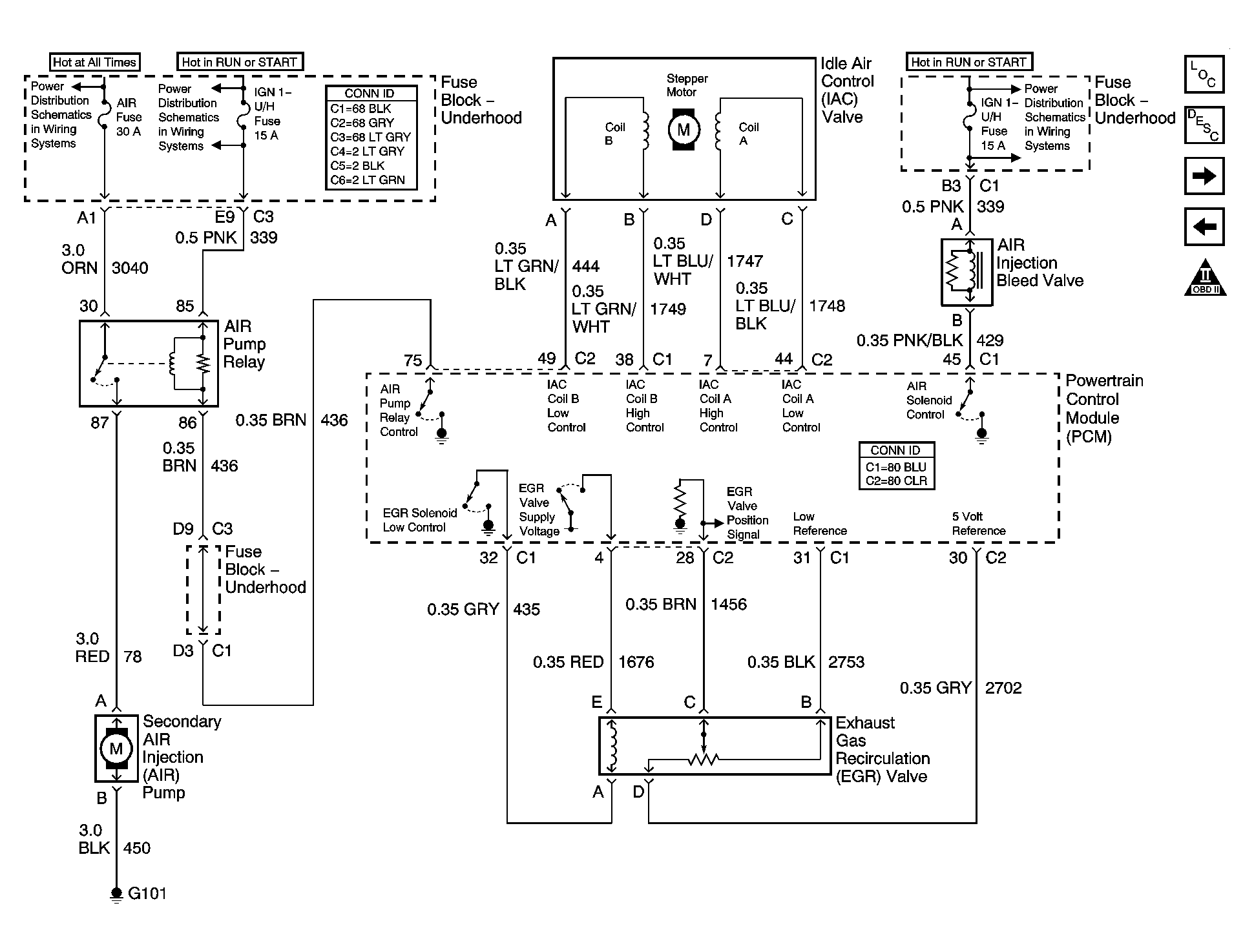
Fig 10: Device Controls Schematic
GM893993Courtesy of GENERAL MOTORS CORP.
Fig 11: Controlled/Monitored Subsystem References Schematic
GM893996Courtesy of GENERAL MOTORS CORP.
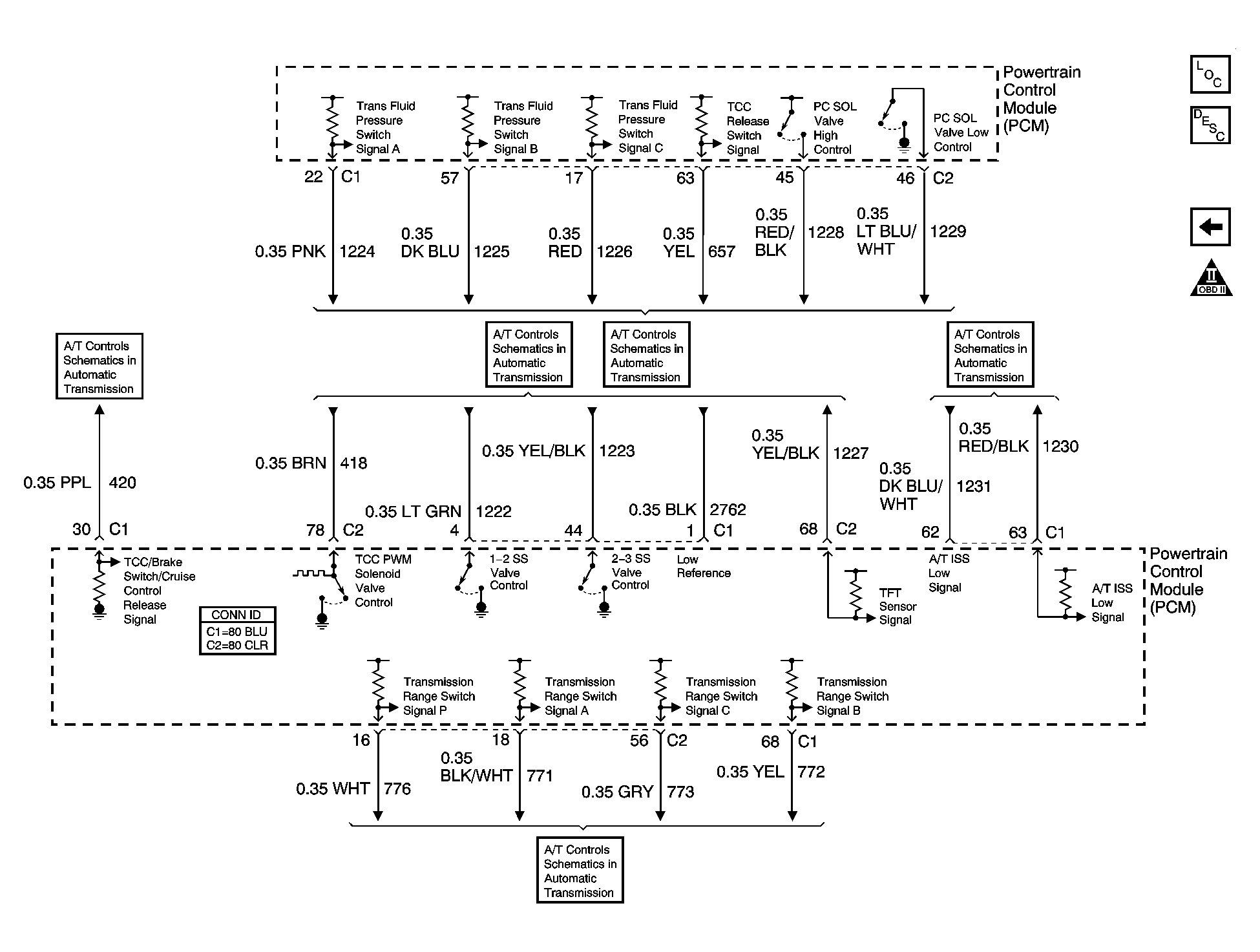
Fig 12: Transmission Controls Schematic
GM894001Courtesy of GENERAL MOTORS CORP.