LEMON Manuals: Even more car manuals for everyone
Home >> Chevrolet >> 2004 >> Venture Base, Van Cargo Extended >> Repair and Diagnosis >> Engine Performance >> System >> Engine Control System - 3.4L (Introduction) >> Repair Instructions >> Air Cleaner Assembly Replacement >> Installation Procedure

Installation Procedure

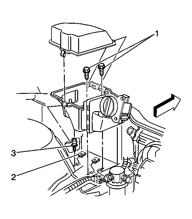
    Fig 1: Locating Bolts For Air Cleaner Assembly
    GM512030Courtesy of GENERAL MOTORS CORP.
  1. Position the air cleaner housing on the stud (3).
  2. NOTE: Refer to Fastener Notice in Cautions and Notices.
  3. Install the 2 bolts (1) through the housing.

    Tighten:  Tighten the air cleaner housing bolts to 10 N.m (89 lb in).

  4. Fig 2: View Of Powertrain Control Module
    GM512028Courtesy of GENERAL MOTORS CORP.
  5. Carefully install the PCM into the housing.
  6. Install the upper cover and snap in to place.
  7. Fig 3: Locating Air Cleaner Assembly Components
    GM512027Courtesy of GENERAL MOTORS CORP.
  8. Install the air cleaner element (3) and air cleaner cover (2) and snap them in place.
  9. Install the air inlet duct/MAF sensor assembly (1) and tighten the 2 clamps.
  10. Connect the MAF sensor electrical connector.
  11. Position the support brace and install the 3 bolts.
  12. Install the coolant tank and install the retaining fastener.