LEMON Manuals: Even more car manuals for everyone
Home >> Chevrolet >> 2004 >> Venture Base, Van Cargo Extended >> Repair and Diagnosis >> Engine Performance >> System >> Engine Control System - 3.4L (Introduction) >> Component Locator >> Engine Controls Connector End Views

Engine Controls Connector End Views

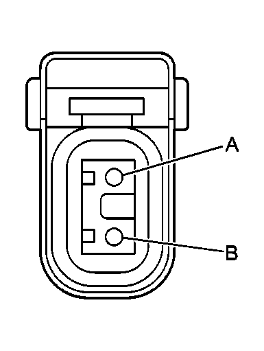
Air Injection BL Value Connector End View

GM635009Courtesy of GENERAL MOTORS CORP.
Connector Part Information
  • 12052641
  • 2-Way F Metri-Pack 150 Series (BLK)
Pin Wire Color Circuit No. Function
A PNK 339 Ignition 1 Voltage
B PNK/BLK 429 Air Solenoid Control
AIR Pump Relay Connector End View

GM535912Courtesy of GENERAL MOTORS CORP.
Connector Part Information
  • 12129716
  • 4 F Metri-pack 280 FLX LK (GRY)
Pin Wire Color Circuit No. Function
30 ORN 3040 Fused Output
85 BLK 339 Fused Output Ignition 1
86 BRN 436 AIR Injection Reaction Pump Motor Relay Output - Coil
87 RED 78 AIR Injection Reaction Pump Motor Feed
Automatic Transaxle (C111) Connector End View

GM258240Courtesy of GENERAL MOTORS CORP.
Connector Part Information
  • 12160493
  • 20-Way F Metri-Packard 100 W Series Sealed (GRY)
Pin Wire Color Circuit No. Function
A LT GRN 1222 1-2 Shift Solenoid Valve Control
B YEL/BLK 1223 2-3 Shift Solenoid Valve Control
C RED/BLK 1228 PC Sol. Valve High Control
D LT BLU/WHT 1229 PC Sol. Valve Low Control
E PNK 1339 Ignition 1 Voltage
F BLK/WHT 771 Transmission Range Switch Signal A
G YEL 772 Transmission Range Switch Signal B
H GRY 773 Transmission Range Switch Signal C
J WHT 776 Transmission Range Switch Signal P
K BLK/WHT 451 Ground
L YEL/BLK 1227 TFT Sensor Signal
M BLK 2762 Low Reference
N PNK 1224 Trans Fluid Pressure Switch Signal A
P RED 1226 Trans Fluid Pressure Switch Signal C
R DK BLU 1225 Trans Fluid Pressure Switch Signal B
S RED/BLK 1230 A/T ISS High Signal
T BRN 418 TCC PWM Solenoid Valve Control
U YEL 657 TCC Release Switch Signal
V DK BLU/WHT 1231 A/T ISS Low Signal
W - - Not Used
Camshaft Position (CMP) Sensor Connector End View

GM68730Courtesy of GENERAL MOTORS CORP.
Connector Part Information
  • 12576607
  • 3-Way F Metri-Pack 150 Series Sealed (BLK)
Pin Wire Color Circuit No. Function
A BLK 630 Camshaft Position Signal
B BLK 407 Low Reference
C RED/WHT 812 12 Volt Reference
Crankshaft Position (CKP) Sensor A Connector End View

GM68730Courtesy of GENERAL MOTORS CORP.
Connector Part Information
  • 12110293
  • 3-Way F Metri-Pack 150 Series Sealed (BLK)
Pin Wire Color Circuit No. Function
A LT GRN 1867 12 Volt Reference
B LT BLU/BLK 647 Medium Resolution Engine Speed Signal
C YEL/BLK 1868 Low Reference
Crankshaft Position (CKP) Sensor B Connector End View

GM237066Courtesy of GENERAL MOTORS CORP.
Connector Part Information
  • 12162194
  • 2-Way F Metri-Pack 150 Series Seal (BLK)
Pin Wire Color Circuit No. Function
A YEL 573 CKP Sensor Signal
B PPL 574 Low Reference
Engine Coolant Temperature (ECT) Sensor Connector End View

GM237066Courtesy of GENERAL MOTORS CORP.
Connector Part Information
  • 12162195
  • 2-Way F (BLK)
Pin Wire Color Circuit No. Function
A ORN/BLK 469 Low Reference
B YEL 410 ECT Sensor Signal
Engine Oil Level Switch Connector End View

GM35437Courtesy of GENERAL MOTORS CORP.
Connector Part Information
  • 12052641
  • 2-Way F Metri-Pack 150 Series Sealed (BLK)
Pin Wire Color Circuit No. Function
A BRN 1174 Oil Level Switch Signal
B BLK/WHT 451 Ground
Engine Oil Pressure (EOP) Switch Connector End View

GM516595Courtesy of GENERAL MOTORS CORP.
Connector Part Information
  • 12065401
  • 1-Way F Metri-Pack 150 Series (GRY)
Pin Wire Color Circuit No. Function
A TAN/BLK 231 Oil Pressure Switch Signal
Evaporative Emission (EVAP) Canister Purge Solenoid Connector End View

GM35437Courtesy of GENERAL MOTORS CORP.
Connector Part Information
  • 12052643
  • 2-Way F Metri-Pack 150 Series Sealed (RED)
Pin Wire Color Circuit No. Function
A PNK 339 Ignition 1 Voltage
B DK GRN/WHT 428 EVAP Canister Purge Solenoid Control
Evaporative Emission (EVAP) Canister Vent Solenoid Connector End View

GM35437Courtesy of GENERAL MOTORS CORP.
Connector Part Information
  • 12052643
  • 2-Way F Metri-Pack 150 Series Sealed (RED)
Pin Wire Color Circuit No. Function
A PNK 1039 Ignition 1 Voltage
B WHT 1310 EVAP Canister Vent Solenoid Control
Exhaust Gas Recirculation (EGR) Valve Connector End View

GM594477Courtesy of GENERAL MOTORS CORP.
Connector Part Information
  • 15326389
  • 5-Way F Metri-Pack 150 Series (BLK)
Pin Wire Color Circuit No. Function
A GRY 435 EGR Solenoid Low Control
B BLK 2753 Low Reference
C BRN 1456 EGR Valve Position Signal
D GRY 2702 5-Volt Reference
E RED 1676 EGR Valve Supply Voltage
Fuel Injector 1 Connector End View

GM334635Courtesy of GENERAL MOTORS CORP.
Connector Part Information
  • 15326179
  • 2-Way F Metri-Pack 64 Series Sealed (BLK)
Pin Wire Color Circuit No. Function
A PNK 639 Ignition 1 Voltage
B BLK 1744 Fuel Injector 1 Control
Fuel Injector 2 Connector End View

GM334635Courtesy of GENERAL MOTORS CORP.
Connector Part Information
  • 15326179
  • 2-Way F Metri-Pack 64 Series Sealed (BLK)
Pin Wire Color Circuit No. Function
A PNK 639 Ignition 1 Voltage
B LT GRN/BLK 1745 Fuel Injector 2 Control
Fuel Injector 3 Connector End View

GM334635Courtesy of GENERAL MOTORS CORP.
Connector Part Information
  • 15326179
  • 2-Way F Metri-Pack 64 Series Sealed (BLK)
Pin Wire Color Circuit No. Function
A PNK 639 Ignition 1 Voltage
B PNK/BLK 1746 Fuel Injector 3 Control
Fuel Injector 4 Connector End View

GM334635Courtesy of GENERAL MOTORS CORP.
Connector Part Information
  • 15326179
  • 2-Way F Metri-Pack 64 Series Sealed (BLK)
Pin Wire Color Circuit No. Function
A PNK 639 Ignition 1 Voltage
B LT BLU/BLK 844 Fuel Injector 4 Control
Fuel Injector 5 Connector End View

GM334635Courtesy of GENERAL MOTORS CORP.
Connector Part Information
  • 15326179
  • 2-Way F Metri-Pack 64 Series Sealed (BLK)
Pin Wire Color Circuit No. Function
A PNK 639 Ignition 1 Voltage
B BLK/WHT 845 Fuel Injector 5 Control
Fuel Injector 6 Connector End View

GM334635Courtesy of GENERAL MOTORS CORP.
Connector Part Information
  • 15326179
  • 2-Way F Metri-Pack 64 Series Sealed (BLK)
Pin Wire Color Circuit No. Function
A PNK 639 Ignition 1 Voltage
B YEL/BLK 846 Fuel Injector 6 Control
Fuel Pump Sender Unit C1 Connector End View

GM456551Courtesy of GENERAL MOTORS CORP.
Connector Part Information
  • 12160482
  • 4-Way F Metri-Pack 150 Series Sealed (BLK)
Pin Wire Color Circuit No. Function
A PPL 1589 Fuel Level Sensor Signal
B GRY 120 Fuel Pump Supply Voltage
C BLK 250 Ground
D BLK 2759 Low Reference
Fuel Tank Pressure Sensor C2 Connector End View

GM62453Courtesy of GENERAL MOTORS CORP.
Connector Part Information
  • 12059595
  • 3-Way F Metri-Pack 150 Series Sealed (BLK)
Pin Wire Color Circuit No. Function
A BLK/WHT 2759 Low Reference
B DK GRN 890 Fuel Tank Pressure Sensor Signal
C GRY 2700 Volt Reference
Heated Oxygen Sensor (HO2S 1) Connector End View

GM474210Courtesy of GENERAL MOTORS CORP.
Connector Part Information
  • 12176897
  • 4-Way F Metri-Pack 150 Series Sealed (LT GRY)
Pin Wire Color Circuit No. Function
A TAN 413 Low Reference
B PPL 412 HO2S 1 Signal
C BLK/WHT 3113 HO2S Heater Low Control
D PNK 339 Ignition 1 Voltage
Heated Oxygen Sensor (HO2S 2) Connector End View

GM280761Courtesy of GENERAL MOTORS CORP.
Connector Part Information
  • 12160825
  • 4-Way M Metri-Pack 150 Series Sealed (BLK)
Pin Wire Color Circuit No. Function
A TAN/WHT 1669 HO2S Low Signal
B PPL/WHT 1668 HO2S High Signal
C BLK 1050 Ground
D PNK 339 Ignition 1 Voltage
Idle Air Control (IAC) Valve Connector End View

GM38608Courtesy of GENERAL MOTORS CORP.
Connector Part Information
  • 12162190
  • 4-Way F Metri-Pack 150.2 Series Pull to Seat Sealed (BLK)
Pin Wire Color Circuit No. Function
A LT GRN/BLK 444 IAC Coil B Low Control
B LT GRN/WHT 1749 IAC Coil B High Control
C LT BLU/BLK 1748 IAC Coil A Low Control
D LT BLU/WHT 1747 IAC Coil A High Control
Ignition Control Module (ICM) C1 Connector End View

GM40442Courtesy of GENERAL MOTORS CORP.
Connector Part Information
  • 12162260
  • 6-Way F Metri-Pack 150.2 Pull to Seat Sealed (BLK)
Pin Wire Color Circuit No. Function
A TAN/BLK 424 IC Timing Signal
B WHT 423 IC Timing Control
C-D - - Not Used
E PPL/WHT 430 Low Resolution Engine Speed Signal
F RED/BLK 453 Low Reference
Ignition Control Module (ICM) C2 Connector End View

GM232831Courtesy of GENERAL MOTORS CORP.
Connector Part Information
  • 12162194
  • 2-Way F Metri-Pack 150.2 Series Pull to Seat Sealed (BLK)
Pin Wire Color Circuit No. Function
A BLK/WHT 51 Ground
B PNK 239 Ignition 1 Voltage
Ignition Control Module (ICM) C3 Connector End View

GM73223Courtesy of GENERAL MOTORS CORP.
Connector Part Information
  • 12110293
  • 3-Way F Metri-Pack 150 Series Sealed (BLK)
Pin Wire Color Circuit No. Function
A YEL 573 CKP Sensor Signal
B - - Not Used
C PPL 574 Low Reference
Intake Air Temperature (IAT) Sensor Connector End View

GM280772Courtesy of GENERAL MOTORS CORP.
Connector Part Information
  • 12162199
  • 2-Way F Metri-Pack 150.2 Series Pull to Seat Sealed (GRY)
Pin Wire Color Circuit No. Function
A BLK 2760 Low Reference
B TAN 472 IAT Sensor Signal
Knock Sensor Connector End View

GM95764Courtesy of GENERAL MOTORS CORP.
Connector Part Information
  • 12176800
  • 1-Way F Metri-Pack 150 Series Sealed (GRY)
Pin Wire Color Circuit No. Function
1 DK BLU 496 Knock Sensor Signal
Manifold Absolute Pressure (MAP) Sensor Connector End View

GM622368Courtesy of GENERAL MOTORS CORP.
Connector Part Information
  • 12020403
  • 3-Way M Weather-Pack TRW Sealed (GRN)
Pin Wire Color Circuit No. Function
A ORN/BLK 469 Low Reference
B LT GRN 432 MAP Sensor Signal
C GRY 2704 5 Volt Reference
Mass Air Flow (MAF) Sensor Connector End View

GM62453Courtesy of GENERAL MOTORS CORP.
Connector Part Information
  • 12059595
  • 3-Way F Metri-Pack 150 Series Sealed (BLK)
Pin Wire Color Circuit No. Function
A YEL 492 MAF Sensor Signal
B BLK/WHT 451 Ground
C PNK 339 Ignition 1 Voltage
Secondary Air Injection (AIR) Pump Connector End View

GM365990Courtesy of GENERAL MOTORS CORP.
Connector Part Information
  • 12191968
  • 2-Way F Metri-Pack 280 Series Sealed (GRY)
Pin Wire Color Circuit No. Function
A RED 78 Air Pump Supply Voltage
B BLK 450 Ground
Throttle Position (TP) Sensor Connector End View

GM62485Courtesy of GENERAL MOTORS CORP.
Connector Part Information
  • 12110192
  • 3-Way F Metri-Pack 150 Series Pull to Seat Sealed (BLK)
Pin Wire Color Circuit No. Function
A GRY 2701 5-Volt Reference
B BLK 2752 Low Reference
C DK BLU 417 TP Sensor Signal
Park/Neutral Position (PNP) Switch Connector End View

GM68780Courtesy of GENERAL MOTORS CORP.
Connector Part Information
  • 12129840
  • 7-Way F Metri-Pack Mixed Series Sealed (GRY)
Pin Wire Color Circuit No. Function
A ORN/BLK 434 Neutral Safety Switch Signal
B ORN 840 Battery Positive Voltage
C LT GRN 275 Park Neutral Position Switch Park Signal
D BLK/WHT 451 Ground
E ORN/BLK 1786 Park/Neutral Signal
F LT GRN 24 Backup Lamp Supply Voltage
G PNK 439 Ignition 1 Voltage
Vehicle Speed Sensor (VSS) Connector End View

GM130680Courtesy of GENERAL MOTORS CORP.
Connector Part Information
  • 12162195
  • 2-Way F Metri-Pack 150.2 Series Pull to Seat Sealed (BLK)
Pin Wire Color Circuit No. Function
A PPL 401 Signal Low - Front
B YEL 400 Signal High - Front