LEMON Manuals: Even more car manuals for everyone
Home >> Chevrolet >> 2004 >> Tracker RWD >> Repair and Diagnosis >> Engine Performance >> System >> Engine Control System - 2.5L (LE8) (Introduction) >> Description and Operation >> Fuel System Description >> Fuel Injectors

Fuel Injectors

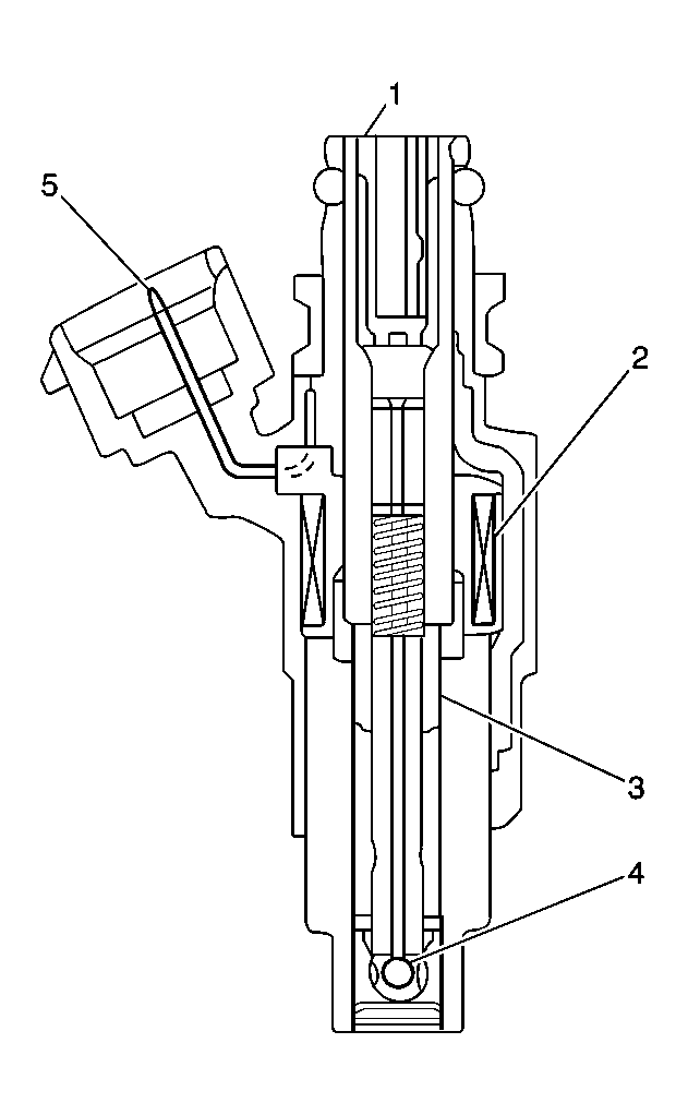
Fig 1: Cross Sectional View Of Fuel Injector
GM472420Courtesy of GENERAL MOTORS CORP.
Callout Component Name
1 Fuel Inlet Filter
2 Solenoid Coil Windings
3 Armature
4 Seat Ball Valve
5 Electrical Terminals

The fuel injector is an electromagnetic (solenoid) type injection nozzle that injects fuel into the intake port of the cylinder head. There are six fuel injectors, one for each cylinder, located between the intake manifold and the fuel rail.

The powertrain control module energizes the solenoid coil (2) of the fuel injector, generating an electromagnet field that attracts the solenoid plunger (3). The ball valve (4), which is incorporated with the solenoid plunger, is opened by the movement of the solenoid plunger. The opening of the ball valve allows fuel that is under pressure to disperse in a cone shaped (conic) pattern. Because the stroke of the ball valve in the fuel injector is set constant, the amount of fuel injected at one time is determined by the length of time the solenoid coil is energized, or pulse width injection time.