LEMON Manuals: Even more car manuals for everyone
Home >> Chevrolet >> 2004 >> Tracker 4WD >> Repair and Diagnosis >> Engine Performance >> System >> Engine Control System - 2.5L (LE8) (Introduction) >> Repair Instructions >> Throttle Position (TP) Sensor Adjustment >> Adjustment Procedure

Adjustment Procedure

  1. Install a scan tool.
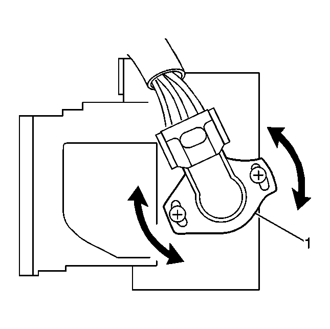
  2. Loosen the TP sensor fasteners
  3. Ensure that the throttle valve is closed completely.
  4. Observe the TP sensor parameter on the scan tool.
  5. Rotate the TP sensor until the scan indicates that the sensor voltage is within 0.35-0.65 volts.
  6. NOTE: Refer to Fastener Notice in Cautions and Notices.
  7. Tighten the TP sensor fasteners while keeping the TP sensor voltage within 0.35-0.65 volts.

    Tighten:  Tighten both fasteners to 2.5 N.m (22 lb in).

  8. Connect the IAC bypass hose to the throttle body.
  9. Fig 1: Rotating TP Sensor
    GM674307Courtesy of GENERAL MOTORS CORP.