LEMON Manuals: Even more car manuals for everyone
Home >> Chevrolet >> 2004 >> Tracker 4WD >> Repair and Diagnosis >> Engine Performance >> System >> Engine Control System - 2.5L (LE8) (Introduction) >> Repair Instructions >> Fuel Rail Assembly Replacement >> Installation Procedure

Installation Procedure

    IMPORTANT: Always replace the fuel injector O-rings with new O-rings when servicing the fuel injectors. Do not damage the O-rings during the installation.
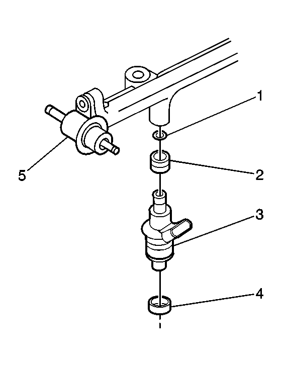
  1. Apply a thin coat of motor oil to the fuel injector O-rings (1).
  2. Install a fuel injector O-ring (1) with a spacer (2) to each fuel injector (3).
  3. Install each fuel injector (3) to the fuel rail.
  4. Apply a thin coat of motor oil to the fuel pressure regulator O-ring.
  5. NOTE: Refer to Fastener Notice in Cautions and Notices.
  6. Install the fuel pressure regulator (5) to the left fuel rail and secure with two bolts.

    Tighten:  Tighten the bolts to 10 N.m (89 lb in).

  7. IMPORTANT: Inspect the fuel injector cushions for scoring or for damage. Before installing the fuel injectors to the intake manifold, replace any faulty injector cushions.
  8. Prepare each fuel rail assembly for installation to the intake manifold, by ensuring that a cushion (4) is present in the seat location of each fuel injector. Replace any missing or damaged cushions as necessary.
  9. Fig 1: View Of Fuel Injectors, O-Rings, Spacer & Fuel Pressure Regulator
    GM675888Courtesy of GENERAL MOTORS CORP.
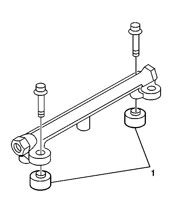
  10. Install the left fuel rail to the intake manifold with two bolts and two spacers (1).

    Tighten:  Tighten the bolts to 23 N.m (16.5 lb ft).

  11. Install the right fuel rail to the intake manifold with two bolts and two spacers (1).

    Tighten:  Tighten the bolts to 23 N.m (16.5 lb ft).

  12. Fig 2: View Of Left Fuel Rail & Intake Manifold Bolts
    GM675884Courtesy of GENERAL MOTORS CORP.
    IMPORTANT: An incorrectly installed fuel injector O-ring can prevent the fuel injector from rotating freely. Inspect for binding fuel injector O-rings, and replace any O-rings as necessary.
  13. Verify that the fuel injectors rotate smoothly and freely.
  14. Fig 3: Verifying Fuel Injectors Rotate Smoothly & Freely
    GM242186Courtesy of GENERAL MOTORS CORP.
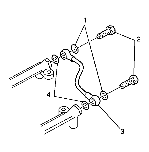
  15. Install the fuel rail crossover pipe (3) to the fuel rails, using new washers (1,4) and securing with the two union bolts (2).

    Tighten:  Tighten the union bolts to 30 N.m (22 lb ft).

  16. Fig 4: View of Fuel Rail Crossover Pipe, Union Bolts & Washers
    GM675871Courtesy of GENERAL MOTORS CORP.
  17. Install the fuel supply pipe (2) to the right side fuel rail with two new washers (1, 4).
  18. Secure the fuel supply pipe (2) with the union bolt (3).

    Tighten:  Tighten the union bolt to 30 N.m (22 lb ft).

  19. Fig 5: View Of Fuel Supply Pipe, Union Bolt & Washers
    GM675864Courtesy of GENERAL MOTORS CORP.
  20. Connect the fuel return hose (3) to the fuel pressure regulator.
  21. Fig 6: View Of Fuel Return Hose
    GM675899Courtesy of GENERAL MOTORS CORP.
  22. Secure the fuel supply pipe (5) and the fuel return pipe (2) to the engine with the bracket and bolt.

    Tighten:  Tighten the bolt to 10 N.m (89 lb in).

    Connect the fuel injector electrical connectors.

  23. Connect the battery.
  24. Turn ON the ignition, leaving the engine OFF.
  25. Turn ON the fuel pump with the scan tool.
  26. Check for leaks and repair as necessary.
  27. Install the throttle body assembly. Refer to Throttle Body Assembly Replacement .
  28. Fig 7: View Of Fuel Supply Pipe, Vacuum Hose & Fuel Return Pipe
    GM675903Courtesy of GENERAL MOTORS CORP.