LEMON Manuals: Even more car manuals for everyone
Home >> Chevrolet >> 2004 >> Tracker 4WD >> Repair and Diagnosis >> Engine Performance >> System >> Engine Control System - 2.5L (LE8) (Introduction) >> Repair Instructions >> Camshaft Position (CMP) Sensor Replacement >> Installation Procedure

Installation Procedure

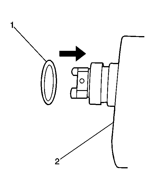
  1. Install a new O-ring (1) on the CMP sensor housing (2).
  2. Lubricate the CMP sensor O-ring with engine oil.
  3. Fig 1: View Of CMP Sensor Housing & New O-Ring
    GM728052Courtesy of GENERAL MOTORS CORP.
    IMPORTANT: Do not use force to install the CMP sensor housing into the cylinder head. The CMP sensor coupling has an offset drive that engages an offset slot in the end of the camshaft. Align the CMP sensor coupling and the camshaft slot before installing the CMP sensor housing into the cylinder head.
  4. Align the offset coupling (1) of the CMP sensor (2) in order to correctly engage the drive slot in the end of the camshaft.
  5. Install the CMP sensor housing into the cylinder, while observing the offset coupling on the CMP sensor for proper alignment during installation.
  6. Fig 2: View Of Electrical Connector, CMP Sensor & Bolts
    GM677349Courtesy of GENERAL MOTORS CORP.
  7. Install the CMP sensor housing bolts (3), but do not tighten the bolts.
  8. Rotate the CMP sensor housing (2) until the scribed alignment marks are matched up.
  9. NOTE: Refer to Fastener Notice in Cautions and Notices.
  10. Tighten the CMP sensor housing bolts.

    Tighten:  Tighten the bolts to 15 N.m (11 lb ft).

  11. Connect the CMP sensor electrical connector (1).
  12. Install a timing light and check the ignition timing. Refer to Ignition System Timing Adjustment Procedure .
  13. Fig 3: View Of Offset Coupling & CMP Sensor
    GM728054Courtesy of GENERAL MOTORS CORP.