LEMON Manuals: Even more car manuals for everyone
Home >> Chevrolet >> 2004 >> Tracker 4WD >> Repair and Diagnosis >> Engine Performance >> System >> Engine Control System - 2.5L (LE8) (Introduction) >> Description and Operation >> Fuel System Description >> Fuel Pump

Fuel Pump

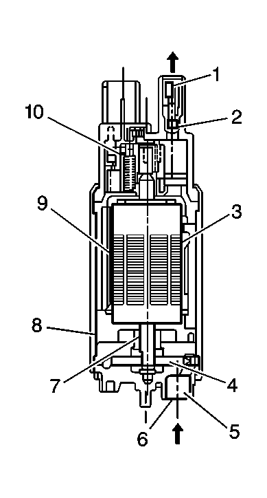
Fig 1: Cross Sectional View Of Fuel Pump
GM55721Courtesy of GENERAL MOTORS CORP.
Callout Component Name
1 Fuel Outlet Port
2 Check Valve
3 Magnet
4 Impeller
5 Pump Cover
6 Fuel Inlet Port
7 Bearing
8 Housing
9 Armature
10 Choke Coil

The fuel pump is an electric pump that is controlled by the powertrain control module through the fuel pump relay. When the PCM commands the fuel pump to operate, an impeller is driven by an electric motor in the pump assembly. The pump impeller causes the fuel in the tank to be drawn into the fuel pump inlet port. The fuel is then pumped out under pressure through the fuel feed pipe and hoses to the fuel rail and the fuel injectors. The fuel pressure is maintained when the fuel pump is not running by a pressure control valve located within the pump. Excess fuel is returned to the fuel tank by the fuel return pipe and hoses. The fuel pump is located in the fuel tank and is a part of the fuel sender assembly. The fuel sender assembly has to be removed from the fuel tank in order to inspect or replace the fuel pump.