LEMON Manuals: Even more car manuals for everyone
Home >> Chevrolet >> 2004 >> Tracker 4WD >> Repair and Diagnosis >> Engine Performance >> System >> Engine Control System - 2.5L (LE8) (Introduction) >> Description and Operation >> Fuel System Description >> Fuel Pressure Regulator

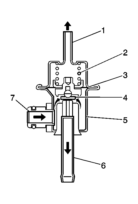
Fuel Pressure Regulator

Fig 1: Fuel Pressure Regulator
GM464423Courtesy of GENERAL MOTORS CORP.
Callout Component Name
1 Manifold Vacuum Port
2 Spring (Chamber A)
3 Diaphragm
4 Valve
5 Chamber B
6 Return Fuel Port (to fuel tank)
7 Fuel Inlet (from fuel pump)

The fuel pressure regulator is a diaphragm-operated pressure relief valve consisting of a diaphragm (3), a spring (2), and a valve (4). The fuel pressure regulator keeps the fuel pressure applied to the fuel injector at a pressure much more than the pressure in the intake manifold.

The pressure applied to chamber A (2) of the fuel pressure regulator is the intake manifold pressure. The pressure applied to chamber B (5) of the fuel pressure regulator is fuel pressure. When the fuel pressure rises at least 210 kPa (30 psi) higher than the intake manifold pressure, the fuel pushes a valve in the regulator open and excess fuel (6) returns to the fuel tank via the fuel return pipe.