Electronic Ignition (EI) System Description: Operation
| Callout | Component Name |
|---|---|
| 1 | PCM |
| 2 | CMP Sensor |
| 3 | Ignition Coil 5 |
| 4 | Ignition Coil 3 |
| 5 | Ignition Coil 1 |
| 6 | Spark Plugs Bank 1 |
| 7 | Spark Plugs Bank 2 |
| 8 | Ignition Coil 2 |
| 9 | Ignition Coil 4 |
| 10 | Ignition Coil 6 |
| 11 | Noise Suppressor |
The PCM uses reference pulses from the camshaft position (CMP) sensor in order to determine engine speed. The PCM cannot operate the ignition system-or the fuel injectors-without the engine speed signal from the CMP.
The six ignition coils supply spark to each engine cylinder, or spark plug, at precisely the right time. When the PCM sends a signal to the ignition module that is built into the ignition coil, the module responds by interrupting the current flow in the primary coil windings. Interrupting the current flow causes the electrical field around the primary coil to collapse, inducing a high voltage in the secondary coil. The secondary coil voltage travels unhindered to the spark plug, through the high voltage output terminal and boot assembly.
The PCM also uses the CMP sensor signal as an input for control of the fuel injectors and ignition timing. The crankshaft position (CKP) sensor signal is used by the PCM for engine misfire detection.
The PCM provides three modes of ignition timing control. Each ignition timing mode provides the most suitable spark advance for optimal engine performance. The following are the 3 modes of ignition timing control:
- The initial advance in ignition timing provides better starting performance of the engine, when engine speed is less than 500 RPM. The PCM sets initial ignition timing advance to 5 degrees before top dead center (BTDC).
- Basic timing control-After the engine is running, ignition timing advance is determined by combining basic timing control and compensating timing control. Basic timing control ignition advance is based on engine coolant temperature, engine speed, and intake air volume. The ignition timing advance value, calculated from the engine coolant temperature (ECT) sensor, the CMP sensor, and the mass air flow (MAF) sensor input, is added to the 5 degrees initial advance, and modified by the compensating timing control value.
- The compensating timing control ignition advance is added to the basic timing control value. The following are the most important factors in calculating the compensating ignition advance value:
- Engine coolant temperature
- Intake air temperature
- Engine load
Ignition timing on the 2.5L engine is adjustable. The CMP sensor housing can be repositioned, much like a distributor, in order to adjust the base ignition timing setting. A scan tool must be used to request that the PCM operate the ignition system in the ignition timing check mode. Refer to Ignition System Timing Adjustment Procedure .
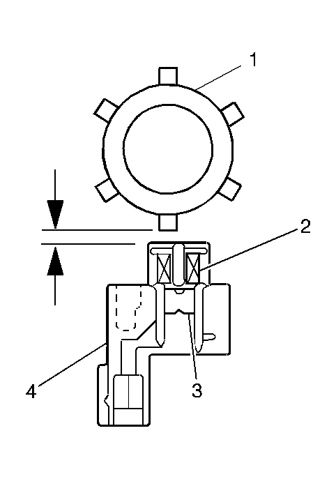
The CKP sensor (4) generates a magnetic field within the magnet (3) and coil (2) assembly. The CKP sensor has a specified air gap between the sensor core end and the crankshaft signal rotor (1) that is located on the crankshaft. An AC voltage is generated in the sensor when crankshaft rotation causes a change in the magnetic flux. The CKP sensor sends the A/C voltage signal to the PCM.
The CMP sensor (3) contains a signal generator hall switch (2). A signal rotor (2), with 11 notches, is located in the CMP sensor housing and is driven by the camshaft. The CMP sensor has a specified air gap between the sensor core end and the signal rotor. When the signal rotor in the housing turns, a magnetic flux from the magnet is applied to the hall element repeatedly. The hall element generates a voltage that is proportional to the magnetic flux. This voltage signal is wave-shaped and is modified into a digital pulse before being sent to the PCM. The PCM uses the pulse and/or revolution signal in determining the engine speed and the position of each cylinder.