LEMON Manuals: Even more car manuals for everyone
Home >> Chevrolet >> 2004 >> Tracker 4WD >> Repair and Diagnosis >> Engine Performance >> System >> Engine Control System - 2.5L (LE8) (Introduction) >> Description and Operation >> Air Intake System Description >> Engine Idle Speed Control Operation

Engine Idle Speed Control Operation

The engine idle speed is controlled by the powertrain control module (PCM) through the idle air control (IAC) valve which allows more or less air to bypass the throttle valve. There are several reasons for idle speed control:

  1. Maintain the engine idle speed at the specified RPM at all times. The engine idle speed can vary due to any of the following reasons:
    • A change in atmospheric pressure.
    • A change in the engines condition over time.
    • Other factors causing the idle speed to change.
  2. Improve the driveability of the engine during warm up.
  3. Compensate for the change in the air/fuel mixture ratio when decelerating (dash-pot effect).
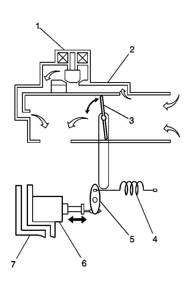
Fig 1: Engine Idle Speed Control
GM719115Courtesy of GENERAL MOTORS CORP.
Callout Component Name
1 Idle Air Control (IAC) Valve
2 Idle Air Bypass Passage
3 Throttle Valve
4 Return Spring
5 Fast Idle Cam
6 Fast Idle-Up Valve
7 Engine Coolant Passage

The IAC valve (1) opens the idle air bypass passage (2) when it is energized by the PCM and closes the idle air bypass passage when de-energized. The PCM detects the engine condition by using inputs and signals from various sensors and switches. While repeating the ON and OFF cycle of the IAC valve at a certain rate, 200 times a second, the PCM controls bypass air flow, IAC valve opening, by increasing and decreasing the ON time portion of the cycle.

When the engine is cold, the fast idle-up valve (6) opens the throttle valve (3) slightly, increasing engine speed. The fast idle-up valve (6) contains a wax pellet that moves a plunger in response to engine coolant temperature (7). The fast idle-up plunger opens the throttle valve by pushing the fast idle cam (5).