LEMON Manuals: Even more car manuals for everyone
Home >> Chevrolet >> 2004 >> Tracker 4WD >> Repair and Diagnosis >> Engine Performance >> System >> Engine Control System - 2.0L (Introduction) >> Description and Operation >> Fuel System Description >> Fuel Sender Assembly

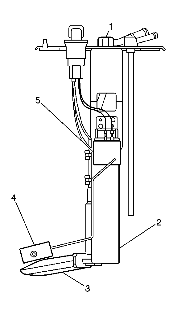
Fuel Sender Assembly

Fig 1: View Of Fuel Sender Assembly
GM471655Courtesy of GENERAL MOTORS CORP.
Callout Component Name
1 Fuel Sender Assembly
2 Fuel Pump
3 Fuel Strainer
4 Fuel Level Float
5 Fuel Level Sensor

The fuel sender assembly is located in the fuel tank. The fuel sender assembly contains the electric fuel pump and the fuel level sensor, or fuel gauge sender. The fuel sender assembly is fastened to the fuel tank with 6 bolts and sealed with a gasket.