LEMON Manuals: Even more car manuals for everyone
Home >> Chevrolet >> 2004 >> Tracker 4WD >> Repair and Diagnosis >> Engine Performance >> System >> Engine Control System - 2.0L (Introduction) >> Description and Operation >> Electronic Ignition (EI) System Description >> Notes

Electronic Ignition (EI) System Description: Notes

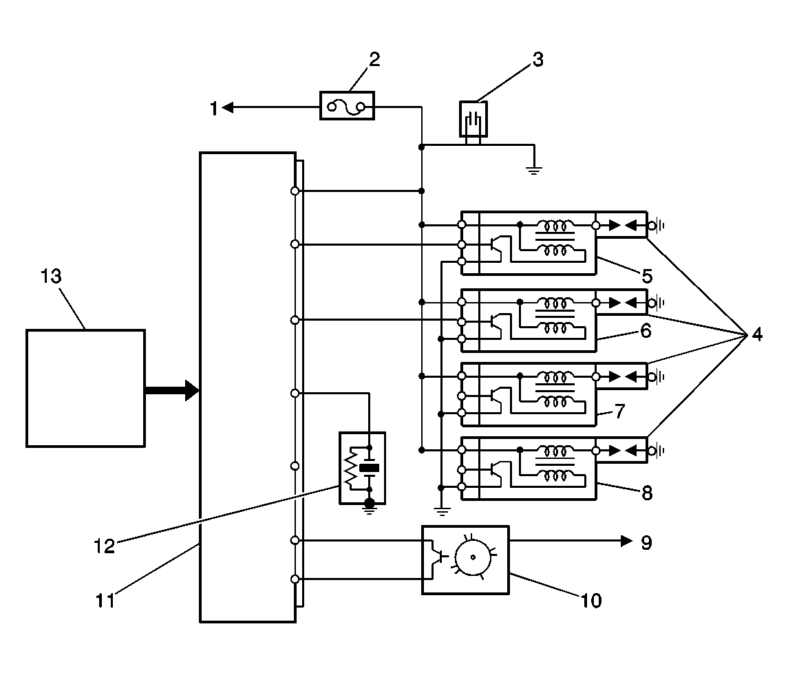
Fig 1: View Of Electronic Ignition (EI) System
GM728056Courtesy of GENERAL MOTORS CORP.
Callout Component Name
1 To Ignition Switch
2 IG-COIL METER Fuse
3 Noise Suppressor
4 Spark Plugs
5 Ignition Coil No.1
6 Ignition Coil No.2
7 Ignition Coil No.3
8 Ignition Coil No.4
9 From Main Relay
10 CMP Sensor
11 PCM
12 KS Sensor
13 Information and Sensor Inputs (to the PCM)

The electronic ignition system used in the 2.0L engine is a coil-on-plug design that is controlled by the powertrain control module (PCM).

The ignition system components cannot be disassembled or repaired. A component that is correctly diagnosed as faulty must be replaced as a complete unit.