LEMON Manuals: Even more car manuals for everyone
Home >> Chevrolet >> 2004 >> Tracker 4WD >> Repair and Diagnosis >> Engine Performance >> System >> Engine Control System - 2.0L (Introduction) >> Description and Operation >> Air Intake System Description >> Throttle Body Assembly

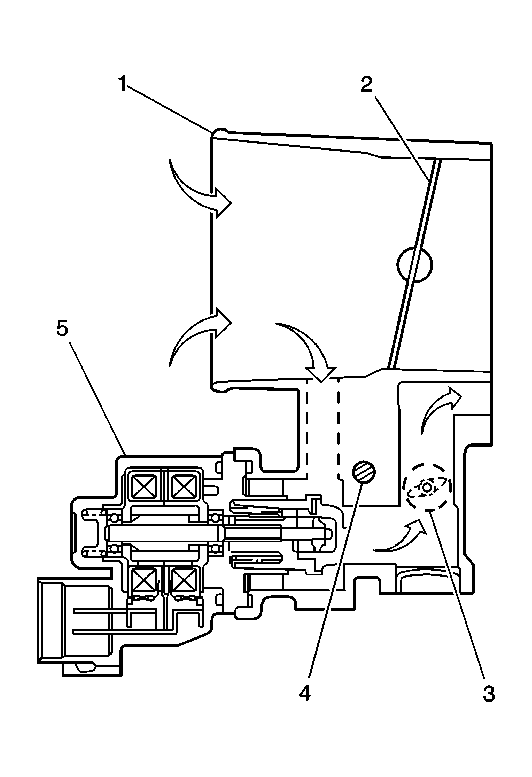
Throttle Body Assembly

Fig 1: View Of Throttle Body Assembly
GM629301Courtesy of GENERAL MOTORS CORP.
Callout Component Name
1 Throttle Body Assembly
2 Throttle Valve
3 Air Limiting Valve
4 Engine Coolant Passage
5 Idle Air Control (IAC) Valve

The throttle body assembly is located on the right side of the engine compartment between the air inlet duct and the intake chamber. The throttle body assembly contains the following:

The throttle valve is interlocked with the accelerator pedal by the accelerator control cable. The throttle valve controls the large volume of air that is drawn into the intake chamber. The idle air bypass passage provides air for the control of engine speed when the throttle valve is closed. The air limiting valve provides additional bypass air to engine when the engine is cold. The air limiting valve is a bi-metal spring that is preset at the factory and cannot be adjusted. The air limiting valve is not serviced separate from the throttle body assembly. The throttle body is warmed by engine coolant that flows through the idle air control valve and into a coolant passage located in the throttle body. The warming of the throttle body helps prevent throttle valve icing. Attached to the throttle body are the throttle position (TP) sensor and the idle air control (IAC) valve.